ГОСТ EN 613-2010 Нагреватели газовые автономные конвективные
ГОСТ ЕН
Скачать ГОСТ в PDF или DOC бесплатно
Основная информация
Обозначение:
ГОСТ EN 613-2010
Статус:
Действует
Тип:
ГОСТ ЕН
Название русское:
Нагреватели газовые автономные конвективные
Название английское:
Independent gas fired convection heaters
Даты и сроки
Дата регистрации:
05-21-10
Дата издания:
01-11-22
Дата введения в действие:
04-01-22
Дата завершения срока действия:
-
Применение и описание
Область и условия применения:
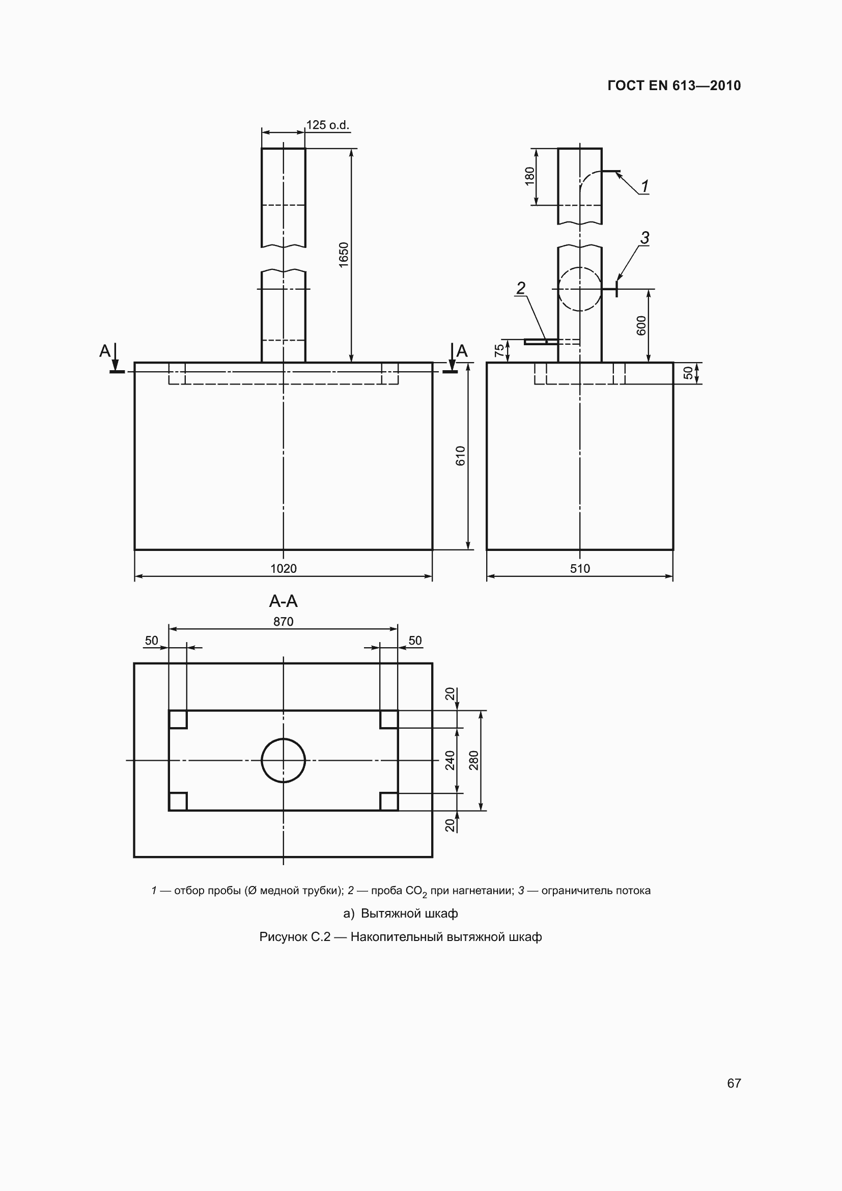
Настоящий стандарт устанавливает требования конструкции, безопасности, маркировки, методы испытания и рационального использования анергии автономных газовых конвективных нагревателей, далее именуемых аппаратами. Настоящий стандарт распространяется на автономные газовые аппараты конвективного нагрева типов В11AS, В11BS, В11CS (обычно называемые в данном стандарте аппаратами В1) и типа С11: - которые включают горелку с естественным потоком воздуха; - которые напрямую подсоединены к открытому дымоходу или к устройству для отвода продуктов сгорания (аппараты с открытым дымоходом, аппараты со сбалансированным дымоходом); - которые смонтированы на стене, свободно стоящие или встроенные; - у которых номинальная тепловая мощность не превышает 20 кВт (основываясь на величине теплотворной способности)
Связи и замены
Заменяющий:
-
Описание стандарта
ГОСТ EN 613-2010 Нагреватели газовые автономные конвективные
Страницы стандарта





















































































