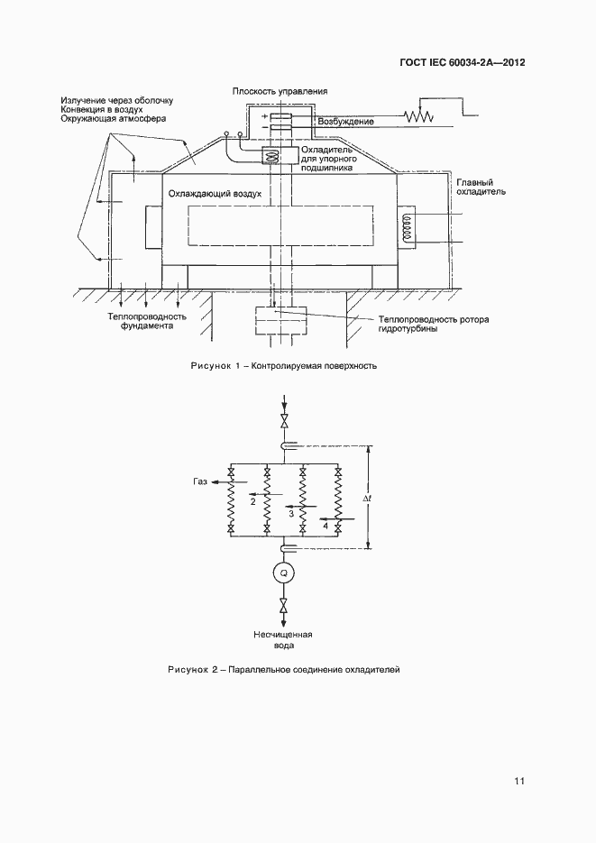
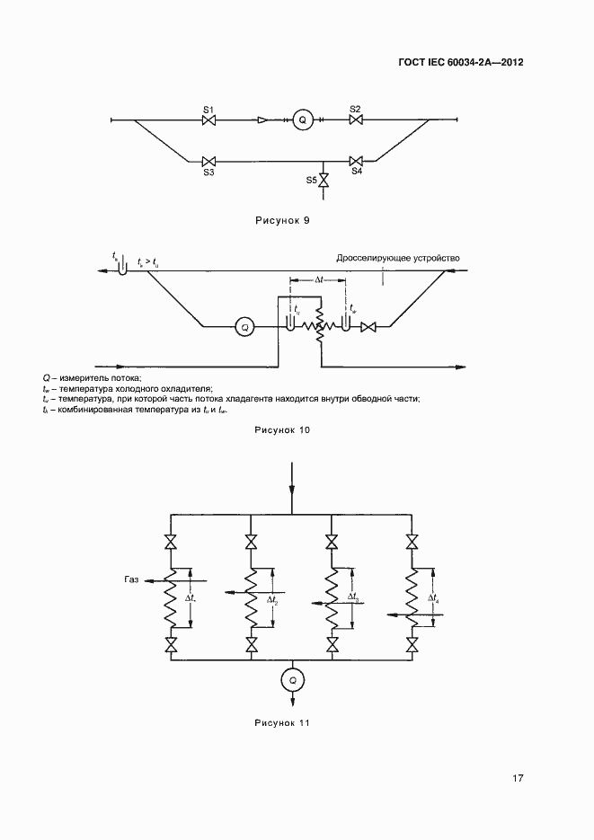
ГОСТ IEC 60034-2A-2012 Машины электрические вращающиеся. Часть 2. Методы определения потерь и коэффициента полезного действия вращающихся электрических машин при испытаниях (исключая машины для тяговых транспортных средств). Измерение потерь калориметрическим методом
ГОСТ МЭК
Скачать ГОСТ в PDF или DOC бесплатно
Основная информация
Обозначение:
ГОСТ IEC 60034-2A-2012
Статус:
Действует
Тип:
ГОСТ МЭК
Название русское:
Машины электрические вращающиеся. Часть 2. Методы определения потерь и коэффициента полезного действия вращающихся электрических машин при испытаниях (исключая машины для тяговых транспортных средств). Измерение потерь калориметрическим методом
Название английское:
Rotating electrical machines. Part 2. Methods for determining losses and efficiency of rotating electrical machinery from tests (excluding machines for fraction vehicles). Measurement of losses by the calorimetric method
Даты и сроки
Дата регистрации:
12-03-12
Дата издания:
08-01-14
Дата введения в действие:
07-01-14
Дата завершения срока действия:
-
Связи и замены
Заменяющий:
-
Взамен в части:
ГОСТ 25941-83 в части измерения потерь калориметрическим методом
Описание стандарта
ГОСТ IEC 60034-2A-2012 Машины электрические вращающиеся. Часть 2. Методы определения потерь и коэффициента полезного действия вращающихся электрических машин при испытаниях (исключая машины для тяговых транспортных средств). Измерение потерь калориметрическим методом
Страницы стандарта






















