ГОСТ IEC 60155-2024 Стартеры тлеющего разряда для люминесцентных ламп. Общие требования и требования безопасности. Методы испытаний
ГОСТ МЭК
Скачать ГОСТ в PDF или DOC бесплатно
Основная информация
Обозначение:
ГОСТ IEC 60155-2024
Статус:
Действует
Тип:
ГОСТ МЭК
Название русское:
Стартеры тлеющего разряда для люминесцентных ламп. Общие требования и требования безопасности. Методы испытаний
Название английское:
Glow-starters for fluorescent lamps. General requirements and safety requirements. Test methods
Даты и сроки
Дата регистрации:
08-30-24
Дата издания:
10-22-24
Дата введения в действие:
01-01-25
Дата завершения срока действия:
-
Применение и описание
Область и условия применения:
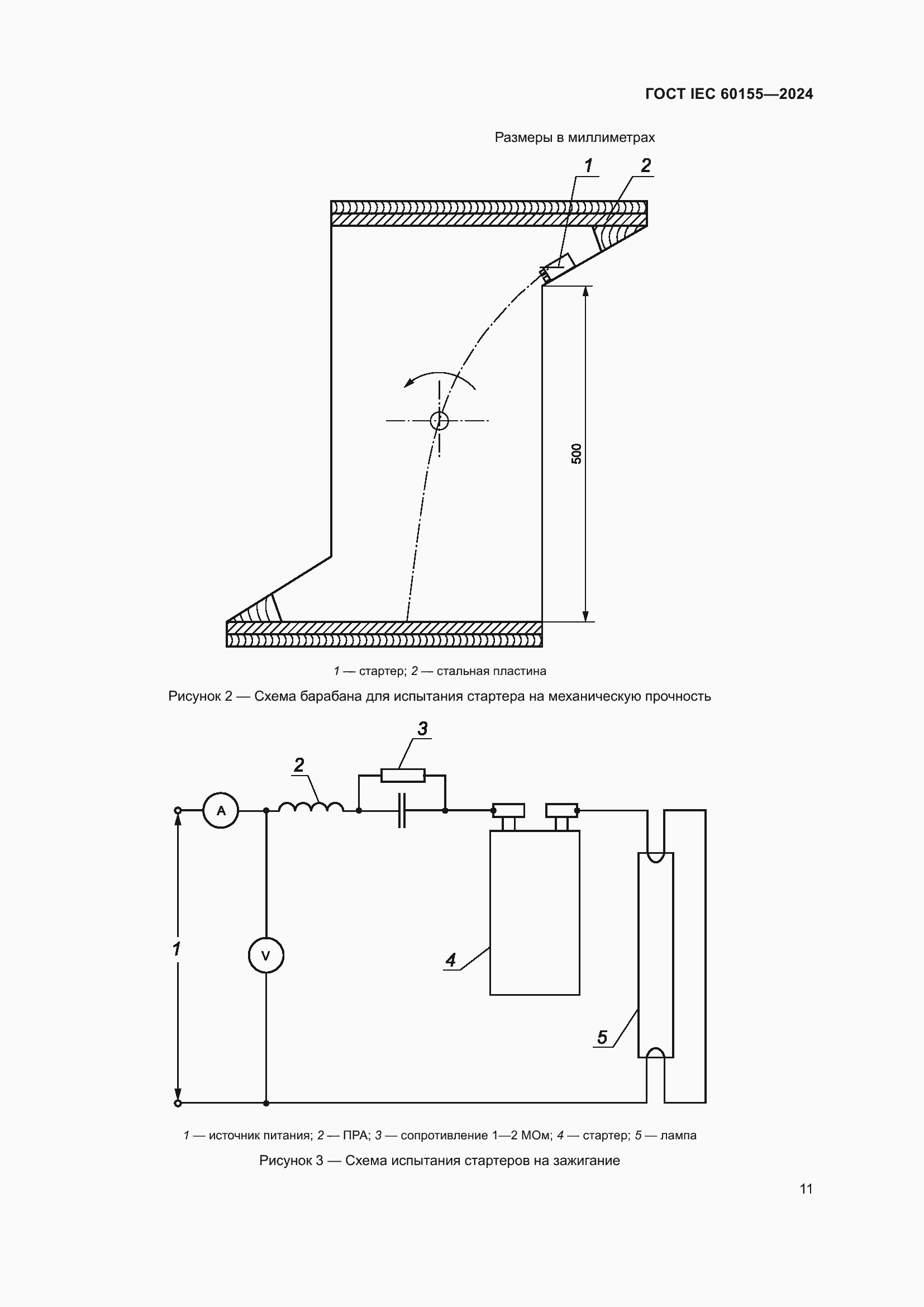
Настоящий стандарт распространяется на стартеры тлеющего разряда, используемые с люминесцентными лампами предварительного подогрева (далее – стартеры)
Связи и замены
Заменяющий:
-
Взамен:
ГОСТ IEC 60155-2012
Описание стандарта
ГОСТ IEC 60155-2024 Стартеры тлеющего разряда для люминесцентных ламп. Общие требования и требования безопасности. Методы испытаний
Страницы стандарта































