ГОСТ ISO/HL7 21731-2013 Информатизация здоровья. HL7, версия 3. Эталонная информационная модель. Выпуск 1
Прочее...
Скачать ГОСТ в PDF или DOC бесплатно
Основная информация
Обозначение:
ГОСТ ISO/HL7 21731-2013
Статус:
Действует
Тип:
Прочее...
Название русское:
Информатизация здоровья. HL7, версия 3. Эталонная информационная модель. Выпуск 1
Название английское:
Health informatics. HL7 version 3. Reference information model. Release 1
Даты и сроки
Дата регистрации:
11-05-13
Дата издания:
01-29-15
Дата введения в действие:
07-01-15
Дата завершения срока действия:
-
Применение и описание
Область и условия применения:
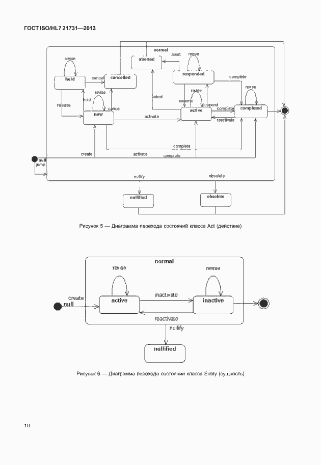
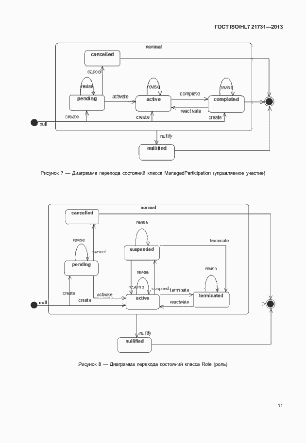
Эталонная информационная модель (ЭИМ) комитета Health Level Seven (HL7) представляет собой статическую модель информации о здоровье и медицинской помощи в соответствии с областями применения деятельности по развитию стандартов HL7. Она является информационной точкой зрения, согласованной комитетом HL7 и его национальными филиалами. ЭИМ служит основным источником, из которого производится все содержание стандартных спецификаций протокола HL7 Версии 3, связанное с информацией. В контексте деятельности комитета ИСО TК215 «Информатизация здоровья» ЭИМ является эталонной моделью, которая может использоваться при разработке других стандартов информатизации здоровья
Связи и замены
Заменяющий:
-
Описание стандарта
ГОСТ ISO/HL7 21731-2013 Информатизация здоровья. HL7, версия 3. Эталонная информационная модель. Выпуск 1
Страницы стандарта





































































































































