ГОСТ Р 41.13-99 Единообразные предписания, касающиеся официального утверждения транспортных средств категорий M, N и O в отношении торможения
ГОСТ Р
Скачать ГОСТ в PDF или DOC бесплатно
Основная информация
Обозначение:
ГОСТ Р 41.13-99
Статус:
Заменен
Тип:
ГОСТ Р
Название русское:
Единообразные предписания, касающиеся официального утверждения транспортных средств категорий M, N и O в отношении торможения
Название английское:
Uniform provisions concerning the approval of vehicles of categories M, N and O with regard to braking
Даты и сроки
Дата издания:
03-01-06
Дата введения в действие:
07-01-00
Дата завершения срока действия:
01-01-09
Применение и описание
Область и условия применения:
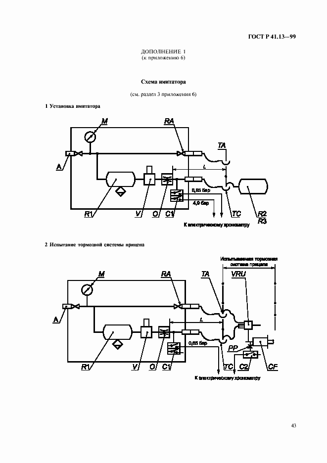
Настоящие Правила применяются к торможению отдельных механических транспортных средств и отдельных прицепов, относящихся к категориям М, N и О. Настоящие Правила не распространяются на: транспортные средства, конструктивная скорость которых не превышает 25 км/ч; прицепы, которые запрещается прицеплять к механическим транспортным средствам, конструктивная скорость которых превышает 25 км/ч; транспортные средства, приспособленные для их вождения инвалидами
Связи и замены
Заменяющий:
ГОСТ Р 41.13-2007
Описание стандарта
ГОСТ Р 41.13-99 Единообразные предписания, касающиеся официального утверждения транспортных средств категорий M, N и O в отношении торможения
Страницы стандарта





















































































































