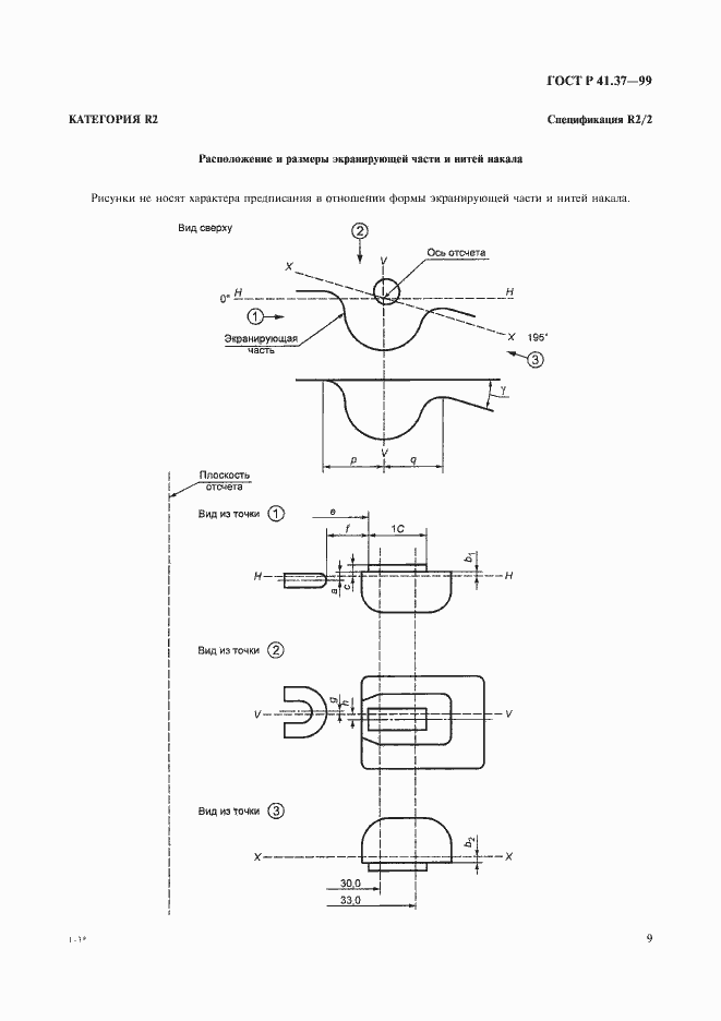
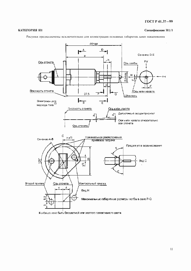
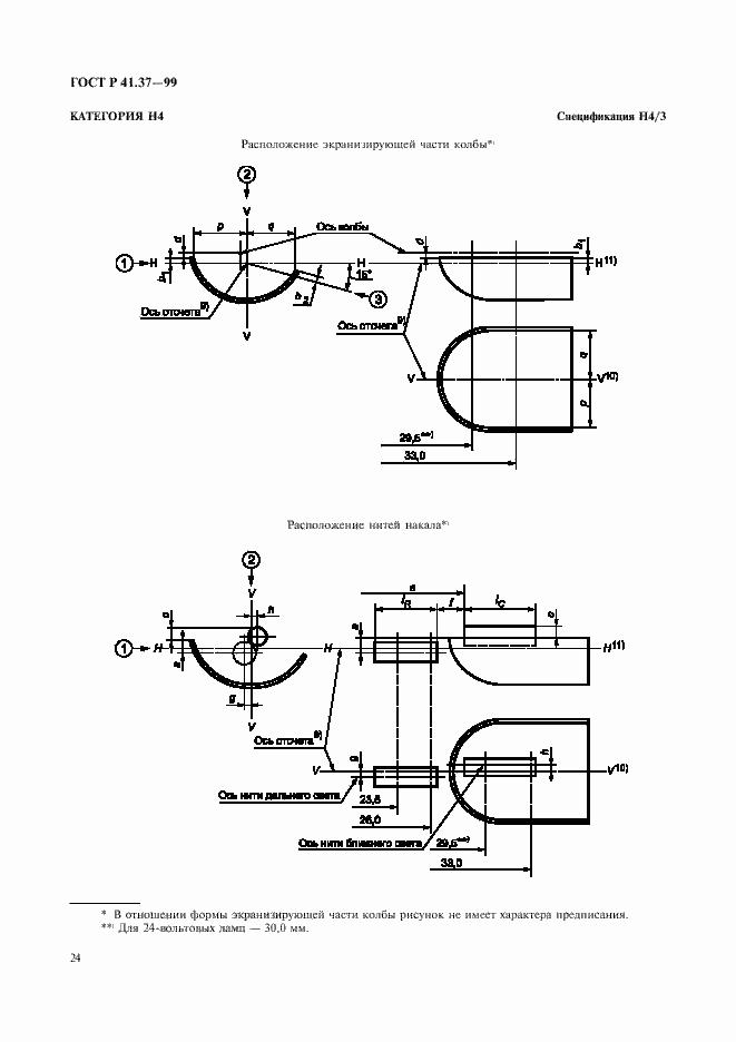
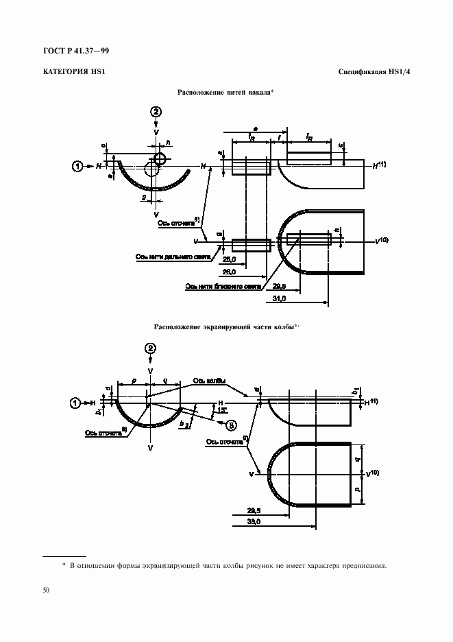
ГОСТ Р 41.37-99 Единообразные предписания, касающиеся официального утверждения ламп накаливания, предназначенных для использования в официально утвержденных огнях механических транспортных средств и их прицепов
ГОСТ Р
Скачать ГОСТ в PDF или DOC бесплатно
Основная информация
Обозначение:
ГОСТ Р 41.37-99
Статус:
Отменен
Тип:
ГОСТ Р
Название русское:
Единообразные предписания, касающиеся официального утверждения ламп накаливания, предназначенных для использования в официально утвержденных огнях механических транспортных средств и их прицепов
Название английское:
Uniform provisions concerning the approval of filament lamps for use in approved lamp units of power-driven vehicles and of their trailers
Даты и сроки
Дата издания:
10-17-00
Дата введения в действие:
07-01-00
Дата завершения срока действия:
09-01-18
Применение и описание
Область и условия применения:
Настоящие Правила применяют к лампам накаливания, предназначенным для использования в официально утвержденных фарах механических транспортных средств и их прицепов
Связи и замены
Заменяющий:
-
Изменения и переиздания
Список изменений:
№0 от (рег. ) «Текстовое изменение; Изменено заглавие»
Описание стандарта
ГОСТ Р 41.37-99 Единообразные предписания, касающиеся официального утверждения ламп накаливания, предназначенных для использования в официально утвержденных огнях механических транспортных средств и их прицепов
Страницы стандарта























































































































