ГОСТ Р 41.42-99 Единообразные предписания, касающиеся официального утверждения транспортных средств в отношении устанавливаемых на них передних и задних защитных устройств (бамперы) и т. д.
ГОСТ Р
Скачать ГОСТ в PDF или DOC бесплатно
Основная информация
Обозначение:
ГОСТ Р 41.42-99
Статус:
Отменен
Тип:
ГОСТ Р
Название русское:
Единообразные предписания, касающиеся официального утверждения транспортных средств в отношении устанавливаемых на них передних и задних защитных устройств (бамперы) и т. д.
Название английское:
Uniform provisions concerning the approval of vehicles with regard to their front and rear protective devices (bumpers, etc.)
Даты и сроки
Дата издания:
03-01-02
Дата введения в действие:
07-01-00
Дата завершения срока действия:
09-01-18
Применение и описание
Область и условия применения:
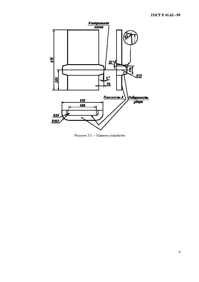
Настоящие Правила регулируют поведение некоторых частей передней и задней конструкции легковых автомобилей в случае их столкновения на малой скорости
Связи и замены
Заменяющий:
-
Изменения и переиздания
Список изменений:
№0 от (рег. ) «Текстовое изменение; Изменено заглавие»
Описание стандарта
ГОСТ Р 41.42-99 Единообразные предписания, касающиеся официального утверждения транспортных средств в отношении устанавливаемых на них передних и задних защитных устройств (бамперы) и т. д.
Страницы стандарта












