ГОСТ Р 50023-92 Головки соединительные пневматического привода тормозных систем. Типы, основные размеры. Общие технические требования и методы испытаний
ГОСТ Р
Скачать ГОСТ в PDF или DOC бесплатно
Основная информация
Обозначение:
ГОСТ Р 50023-92
Статус:
Отменен
Тип:
ГОСТ Р
Название русское:
Головки соединительные пневматического привода тормозных систем. Типы, основные размеры. Общие технические требования и методы испытаний
Название английское:
Coupling heads of pneumatic transmission of braking systems. Types, basic dimensions. General technical requirements and test methods
Даты и сроки
Дата издания:
07-01-94
Дата введения в действие:
01-01-93
Дата завершения срока действия:
04-01-17
Применение и описание
Область и условия применения:
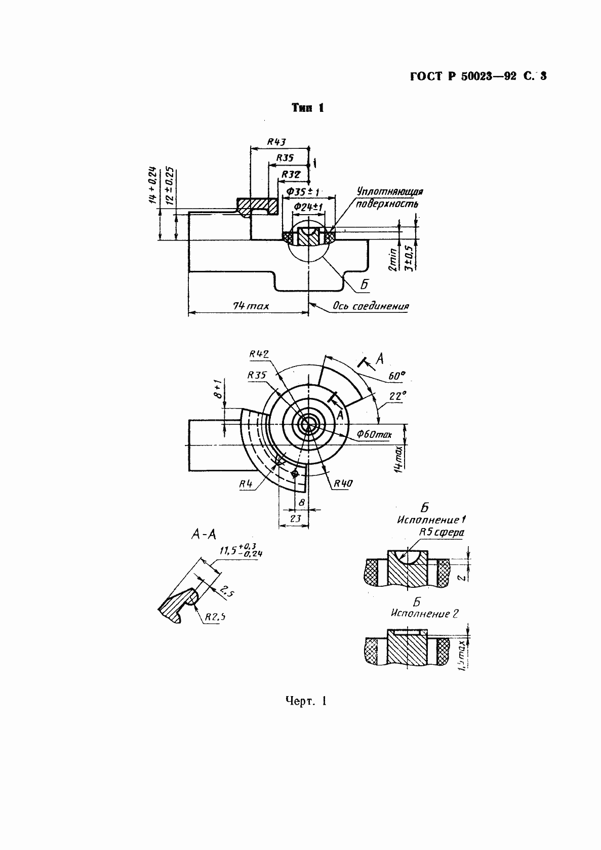
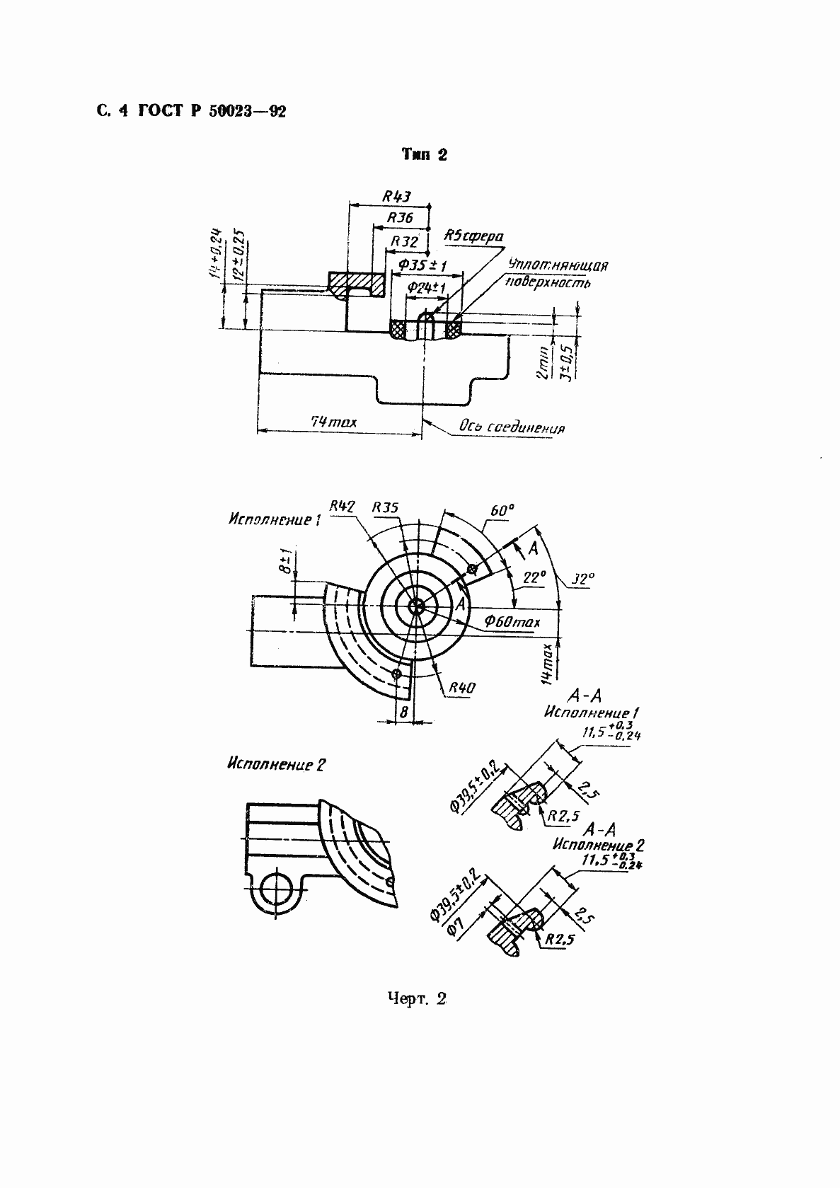
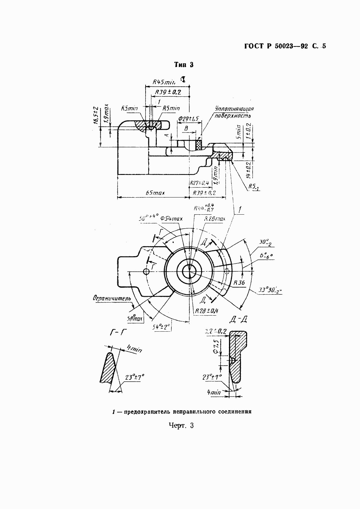
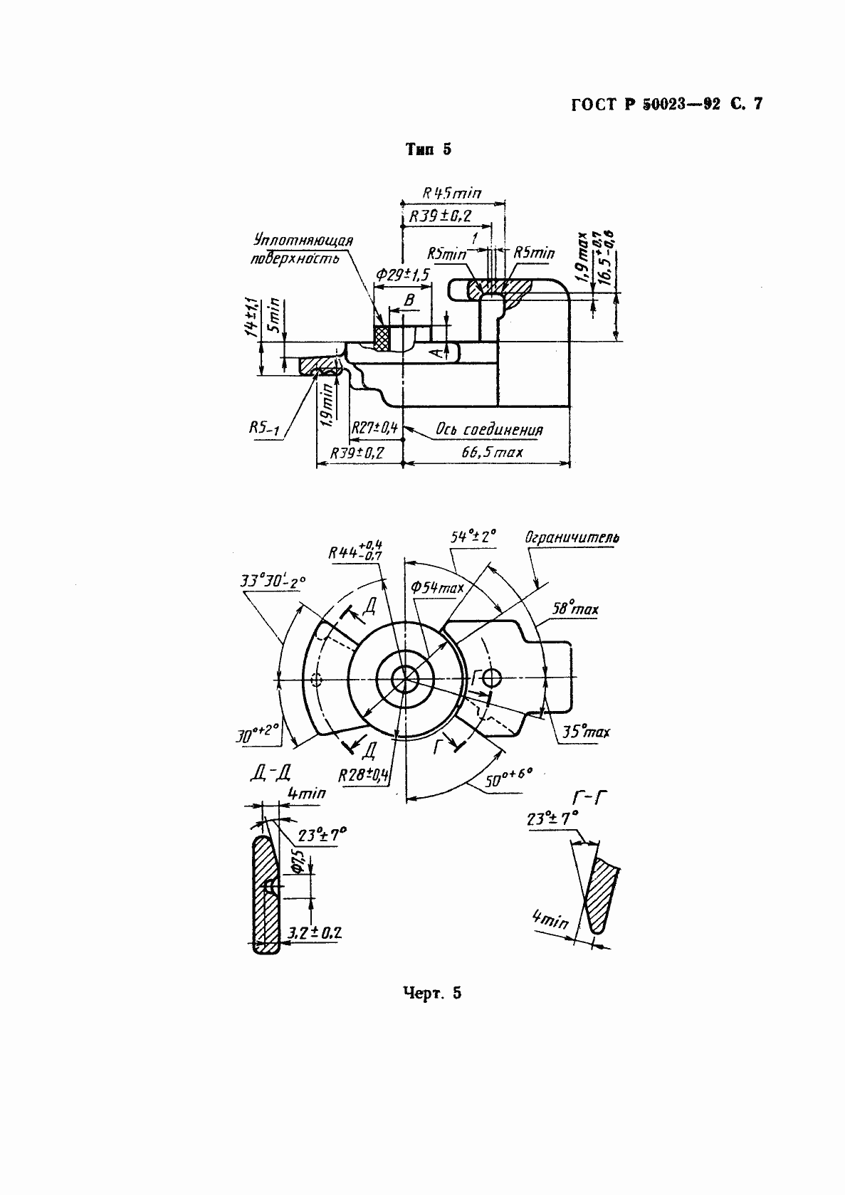
Настоящий стандарт распространяется на соединительные головки, предназначенные для соединения однопроводных и двухпроводных приводов тормозных систем автомобилей и тракторов с приводами тормозных систем прицепов, полуприцепов и прицепных сельскохозяйственных машин, а также для соединения тормозных систем звеньев автопоездов и тракторных поездов, и устанавливает типы головок, основные присоединительные размеры, необходимые для обеспечения их соединения, технические требования и методы испытаний
Связи и замены
Заменяющий:
-
Изменения и переиздания
Список изменений:
№0 от (рег. ) «Текстовое изменение; Изменено заглавие»
Описание стандарта
ГОСТ Р 50023-92 Головки соединительные пневматического привода тормозных систем. Типы, основные размеры. Общие технические требования и методы испытаний
Страницы стандарта










