ГОСТ 19687-84 Электрокардиографы. Общие технические условия
ГОСТ
Скачать ГОСТ в PDF или DOC бесплатно
Основная информация
Обозначение:
ГОСТ 19687-84
Статус:
утратил силу в РФ
Тип:
ГОСТ
Название русское:
Электрокардиографы. Общие технические условия
Даты и сроки
Дата введения в действие:
01-01-86
Дата завершения срока действия:
01-01-90
Связи и замены
Заменяющий:
ГОСТ 19687-84
Описание стандарта
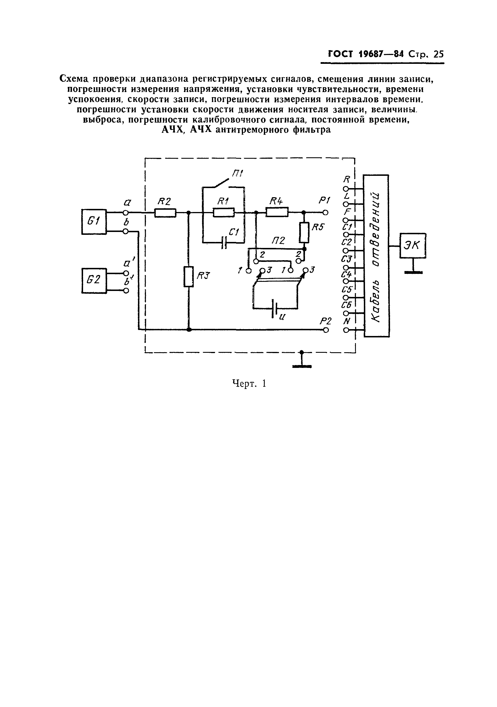
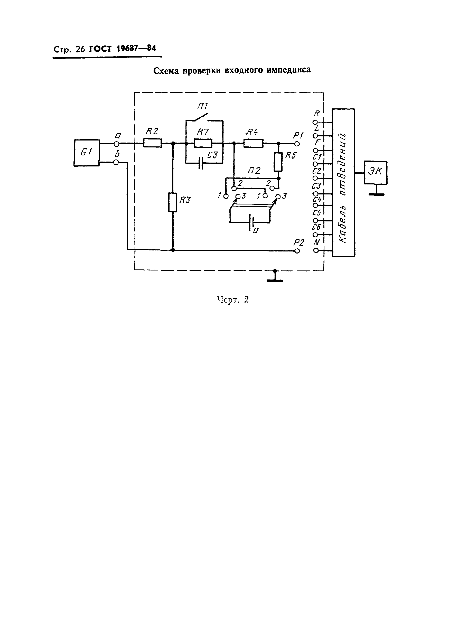
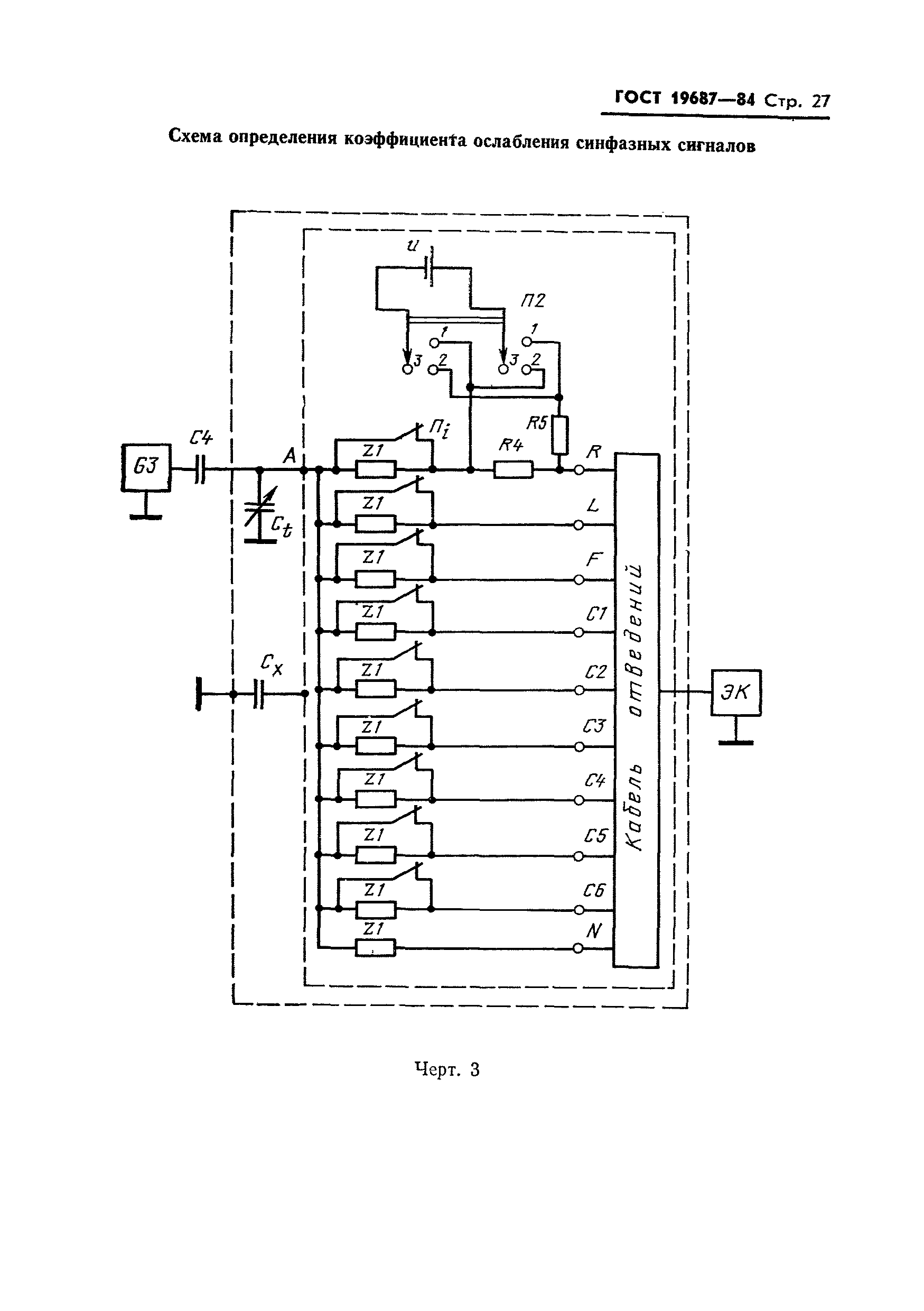
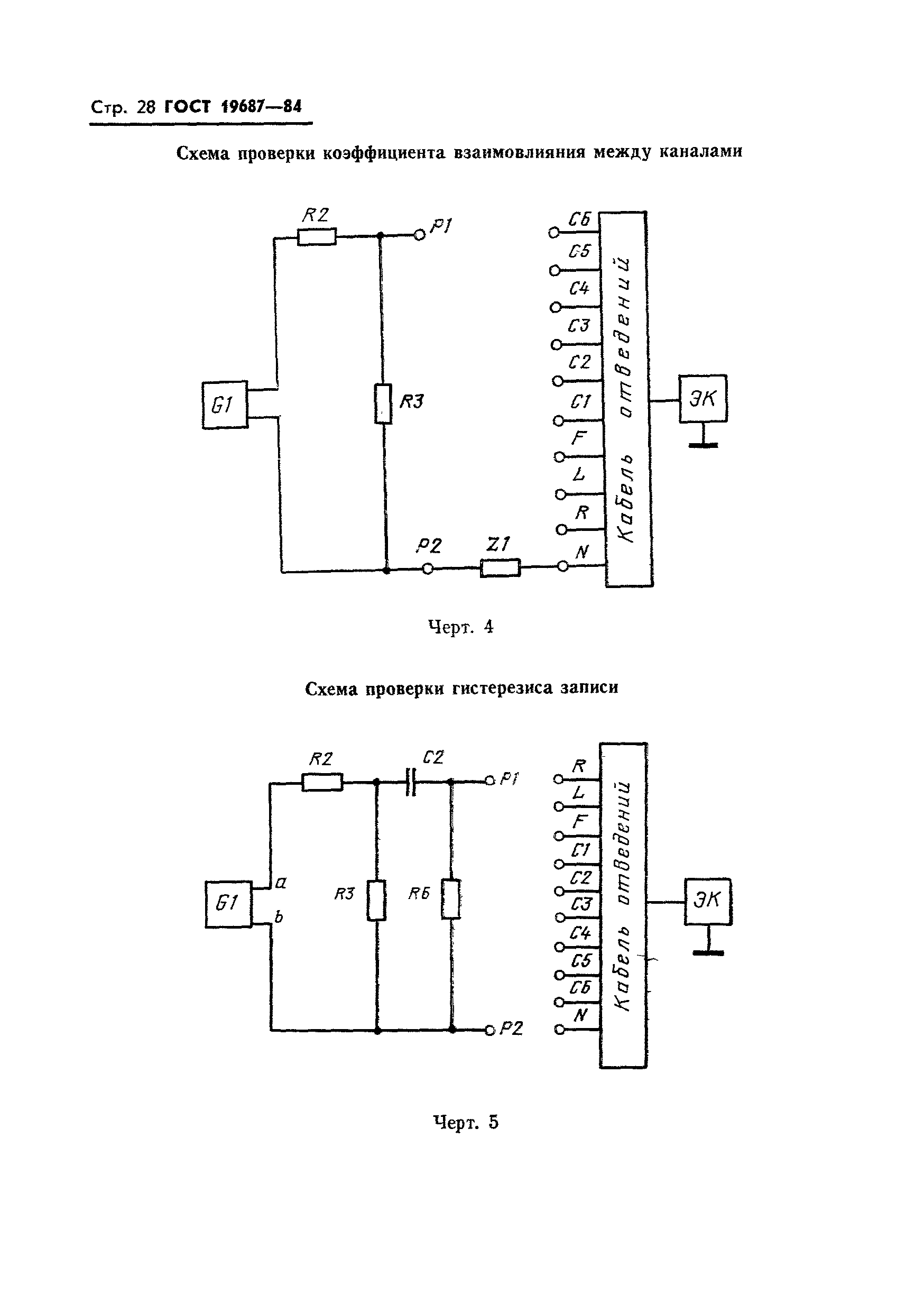
ГОСТ 19687-84 Электрокардиографы. Общие технические условия
Страницы стандарта






























