ГОСТ Р 50835-95 Вещества взрывчатые бризантные. Методы определения характеристик чувствительности к трению при ударном сдвиге
ГОСТ Р
Скачать ГОСТ в PDF или DOC бесплатно
Основная информация
Обозначение:
ГОСТ Р 50835-95
Статус:
Действует
Тип:
ГОСТ Р
Название русское:
Вещества взрывчатые бризантные. Методы определения характеристик чувствительности к трению при ударном сдвиге
Название английское:
High explosives. Sensitivity characteristics determination for friction when impact displacement
Даты и сроки
Дата издания:
02-20-96
Дата введения в действие:
01-01-97
Дата завершения срока действия:
-
Применение и описание
Область и условия применения:
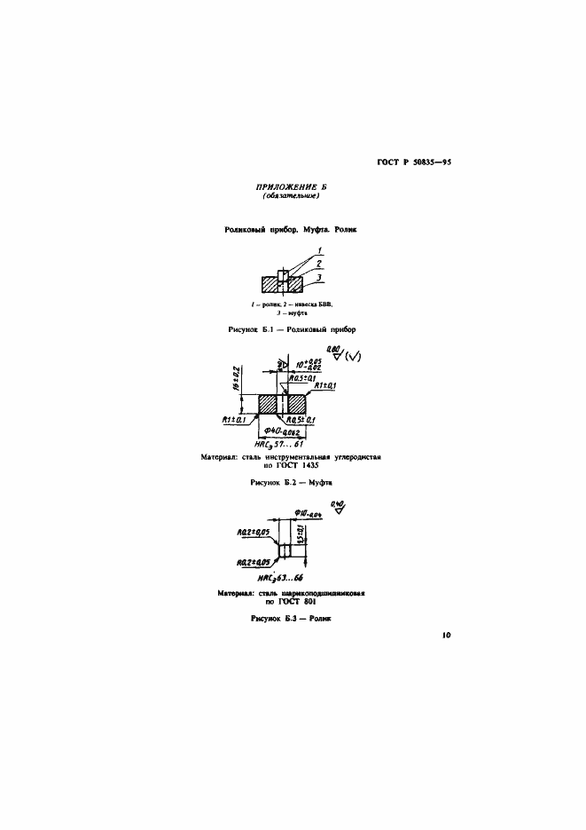
Настоящий стандарт распространяется на твердые бризантные взрывчатые вещества и устанавливает методы определения следующих характеристик чувствительности к трению при ударном сдвиге: - нижнего предела чувствительности к трению - основная характеристика; - частости взрывов - дополнительная характеристика, используемая для определения вероятности взрыва бризантных взрывчатых веществ в зависимости от давления прижатия
Связи и замены
Заменяющий:
-
Описание стандарта
ГОСТ Р 50835-95 Вещества взрывчатые бризантные. Методы определения характеристик чувствительности к трению при ударном сдвиге
Страницы стандарта















