ГОСТ Р 52718-2007 Аппаратура для измерения электрической энергии. Надежность. Часть 21. Сбор данных о надежности счетчиков в условиях эксплуатации
ГОСТ Р
Скачать ГОСТ в PDF или DOC бесплатно
Основная информация
Обозначение:
ГОСТ Р 52718-2007
Статус:
Действует
Тип:
ГОСТ Р
Название русское:
Аппаратура для измерения электрической энергии. Надежность. Часть 21. Сбор данных о надежности счетчиков в условиях эксплуатации
Название английское:
Electricity metering equipment. Dependability. Part 21. Collection of meter dependability data from the field
Даты и сроки
Дата издания:
06-15-07
Дата введения в действие:
01-01-08
Дата завершения срока действия:
-
Применение и описание
Область и условия применения:
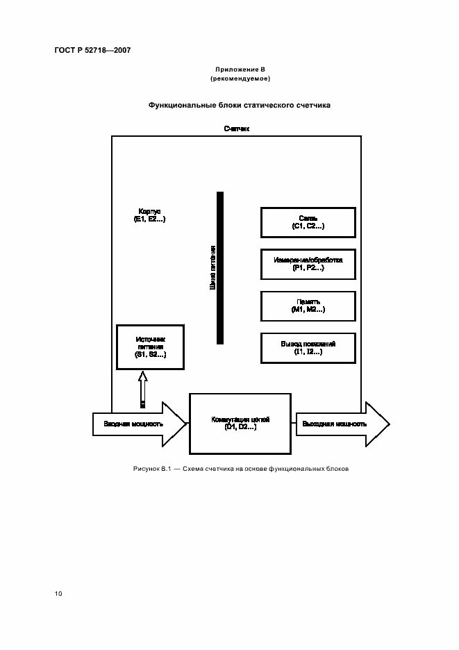
Настоящий стандарт распространяется на электромеханическую и статическую аппаратуру, предназначенную для измерения электрической энергии и управления нагрузкой. Настоящий стандарт устанавливает методы сбора и анализа данных об отказах при эксплуатации аппаратуры с использованием отчетов об отказах аппаратуры в процессе эксплуатации и планов выборочного контроля
Связи и замены
Заменяющий:
-
Описание стандарта
ГОСТ Р 52718-2007 Аппаратура для измерения электрической энергии. Надежность. Часть 21. Сбор данных о надежности счетчиков в условиях эксплуатации
Страницы стандарта














