ГОСТ Р 53037-2013 Мобильные подъемники с рабочими платформами. Расчеты конструкции, требования безопасности, испытания
ГОСТ Р
Скачать ГОСТ в PDF или DOC бесплатно
Основная информация
Обозначение:
ГОСТ Р 53037-2013
Статус:
Отменен
Тип:
ГОСТ Р
Название русское:
Мобильные подъемники с рабочими платформами. Расчеты конструкции, требования безопасности, испытания
Название английское:
Mobile elevating work platforms. Design, calculations, safety reguirements, tests
Даты и сроки
Дата издания:
10-09-14
Дата введения в действие:
09-01-14
Дата завершения срока действия:
07-01-19
Применение и описание
Область и условия применения:
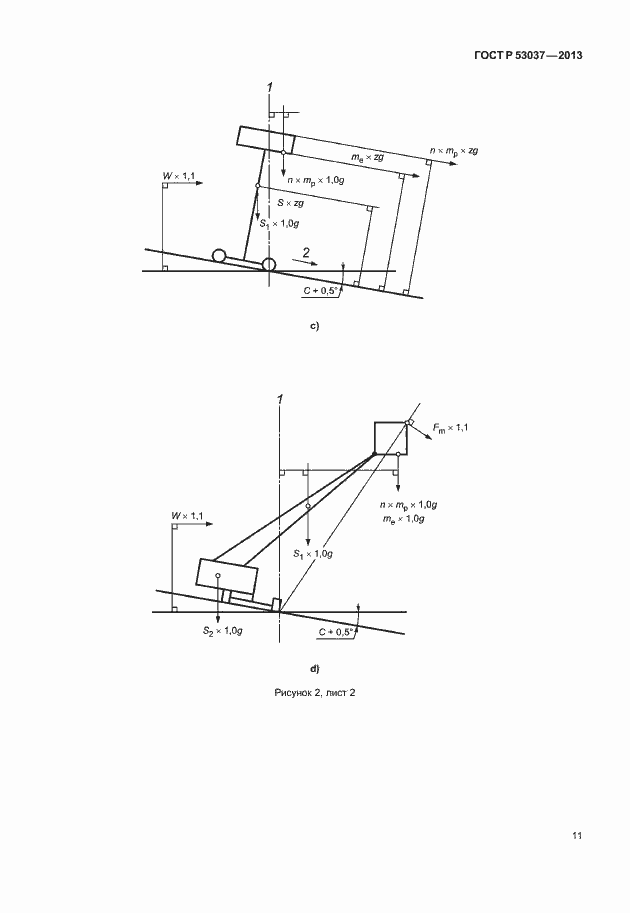
Настоящий стандарт устанавливает требования, обеспечивающие единство проектирования, расчетов и испытания всех типов мобильных подъемников с рабочими платформами (МПРП) для обеспечения их безопасного применения. Настоящий стандарт применяется при конструкторских расчетах металлоконструкций, критерия устойчивости, испытаниях и проверках безопасности перед пуском МПРП в работу. Стандарт определяет опасные факторы, возникающие при эксплуатации МПРП, и описывает методы устранения или снижения этих факторов
Связи и замены
Заменяющий:
-
Взамен:
ГОСТ Р 53037-2008
Изменения и переиздания
Список изменений:
№0 от (рег. ) «Текстовое изменение; Изменено заглавие»
Описание стандарта
ГОСТ Р 53037-2013 Мобильные подъемники с рабочими платформами. Расчеты конструкции, требования безопасности, испытания
Страницы стандарта






















































































