ГОСТ Р 54770-2011 Подъемники с рабочими платформами. Подъемники мачтового типа. Расчеты конструкции, требования безопасности, методы испытаний
ГОСТ Р
Скачать ГОСТ в PDF или DOC бесплатно
Основная информация
Обозначение:
ГОСТ Р 54770-2011
Статус:
Принят
Тип:
ГОСТ Р
Название русское:
Подъемники с рабочими платформами. Подъемники мачтового типа. Расчеты конструкции, требования безопасности, методы испытаний
Название английское:
Elevating work platforms. Mast-climbing work platforms. Calculating of the structure, safely requirements, testing methods
Даты и сроки
Дата издания:
10-01-13
Дата введения в действие:
01-01-13
Дата завершения срока действия:
-
Применение и описание
Область и условия применения:
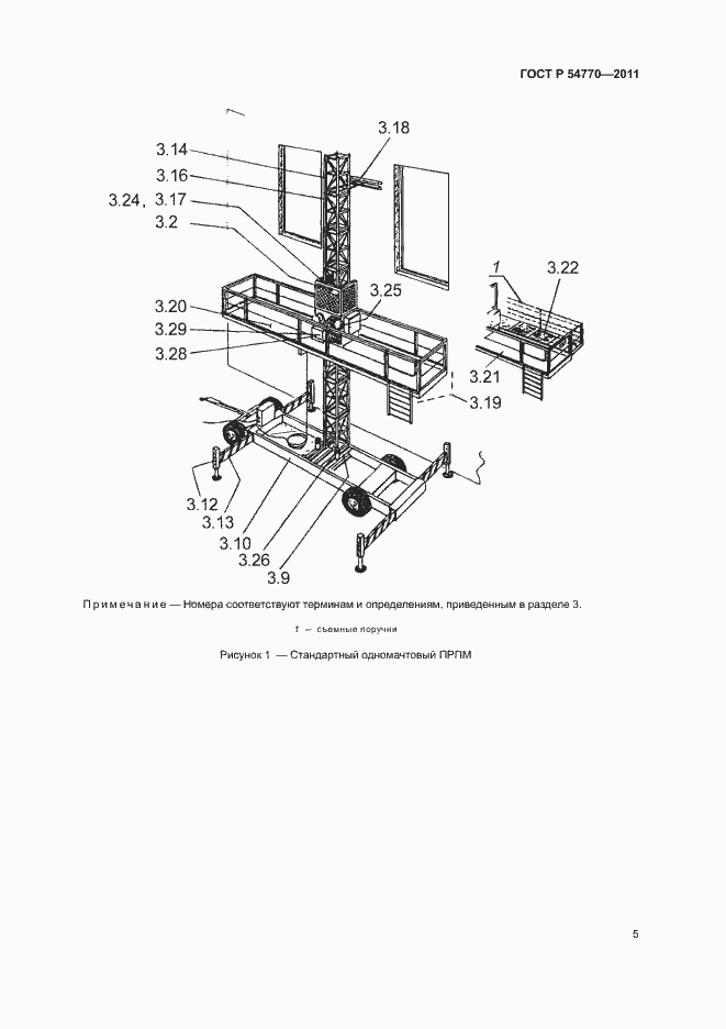
Настоящий стандарт распространяется на подъемники с рабочими платформами мачтового типа (ПРПМ), предназначенные для перемещения рабочего персонала с инструментом и материалами, размещенными на рабочей платформе, и проведения работ в пределах рабочей зоны. Настоящий стандарт устанавливает: - требования к проектированию и расчетам ПРПМ; - перечень опасных факторов, возникающих на различных этапах эксплуатации ПРПМ; - требования безопасности, предотвращающие или сводящие к минимуму опасные факторы, и методы их испытаний
Связи и замены
Заменяющий:
-
Описание стандарта
ГОСТ Р 54770-2011 Подъемники с рабочими платформами. Подъемники мачтового типа. Расчеты конструкции, требования безопасности, методы испытаний
Страницы стандарта

































































