ГОСТ Р 56731-2023 Анкеры механические для крепления в бетоне. Методы испытаний
ГОСТ Р
Скачать ГОСТ в PDF или DOC бесплатно
Основная информация
Обозначение:
ГОСТ Р 56731-2023
Статус:
Действует
Тип:
ГОСТ Р
Название русское:
Анкеры механические для крепления в бетоне. Методы испытаний
Название английское:
Mechanical anchors for use in concrete. Test methods
Даты и сроки
Дата издания:
08-25-23
Дата введения в действие:
09-01-23
Дата завершения срока действия:
-
Применение и описание
Область и условия применения:
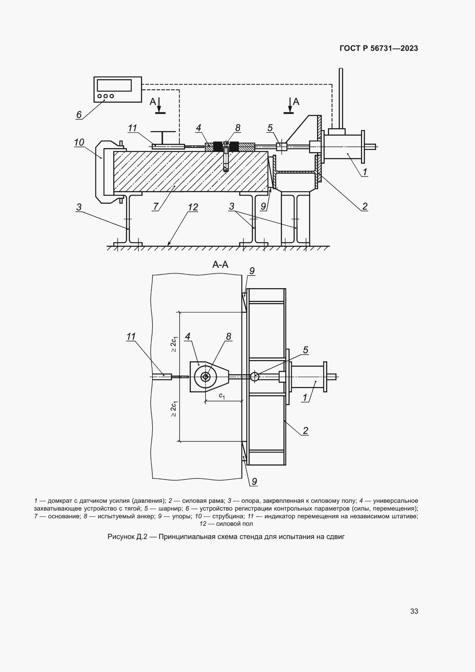
Настоящий стандарт распространяется на механические анкеры c контролем момента затяжки, с контролем перемещения, анкеры-шурупы и анкеры с уширением, установленные в готовое основание из тяжелого бетона, и устанавливает методы их испытания, требования к оценке их прочностных и деформативных характеристик
Связи и замены
Заменяющий:
-
Взамен:
ГОСТ Р 56731-2015
Описание стандарта
ГОСТ Р 56731-2023 Анкеры механические для крепления в бетоне. Методы испытаний
Страницы стандарта







































