ГОСТ Р 58336-2018 Упоры уголковые анкерные. Методы испытаний
ГОСТ Р
Скачать ГОСТ в PDF или DOC бесплатно
Основная информация
Обозначение:
ГОСТ Р 58336-2018
Статус:
Действует
Тип:
ГОСТ Р
Название русское:
Упоры уголковые анкерные. Методы испытаний
Название английское:
Anchor angular emphasis. Test methods
Даты и сроки
Дата издания:
01-10-19
Дата введения в действие:
07-01-19
Дата завершения срока действия:
-
Применение и описание
Область и условия применения:
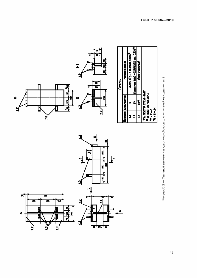
Настоящий стандарт устанавливает методы испытаний упоров в виде холодногнутых уголков, выполняющих функции анкерных упоров в сталежелезобетонных конструкциях перекрытий в соответствии с СП 266.1325800. Настоящий стандарт определяет требования к методам статических испытаний уголковых упоров, закрепленных на балках перекрытия с помощью дюбелей. Настоящий стандарт не содержит методов оценки несущей способности уголковых упоров
Связи и замены
Заменяющий:
-
Описание стандарта
ГОСТ Р 58336-2018 Упоры уголковые анкерные. Методы испытаний
Страницы стандарта



















