ГОСТ Р 58387-2024 Анкеры клеевые для крепления в бетон. Методы испытаний
ГОСТ Р
Скачать ГОСТ в PDF или DOC бесплатно
Основная информация
Обозначение:
ГОСТ Р 58387-2024
Статус:
Действует
Тип:
ГОСТ Р
Название русское:
Анкеры клеевые для крепления в бетон. Методы испытаний
Название английское:
Bonded anchors for use in concrete. Test methods
Даты и сроки
Дата издания:
01-30-25
Дата введения в действие:
03-01-25
Дата завершения срока действия:
-
Применение и описание
Область и условия применения:
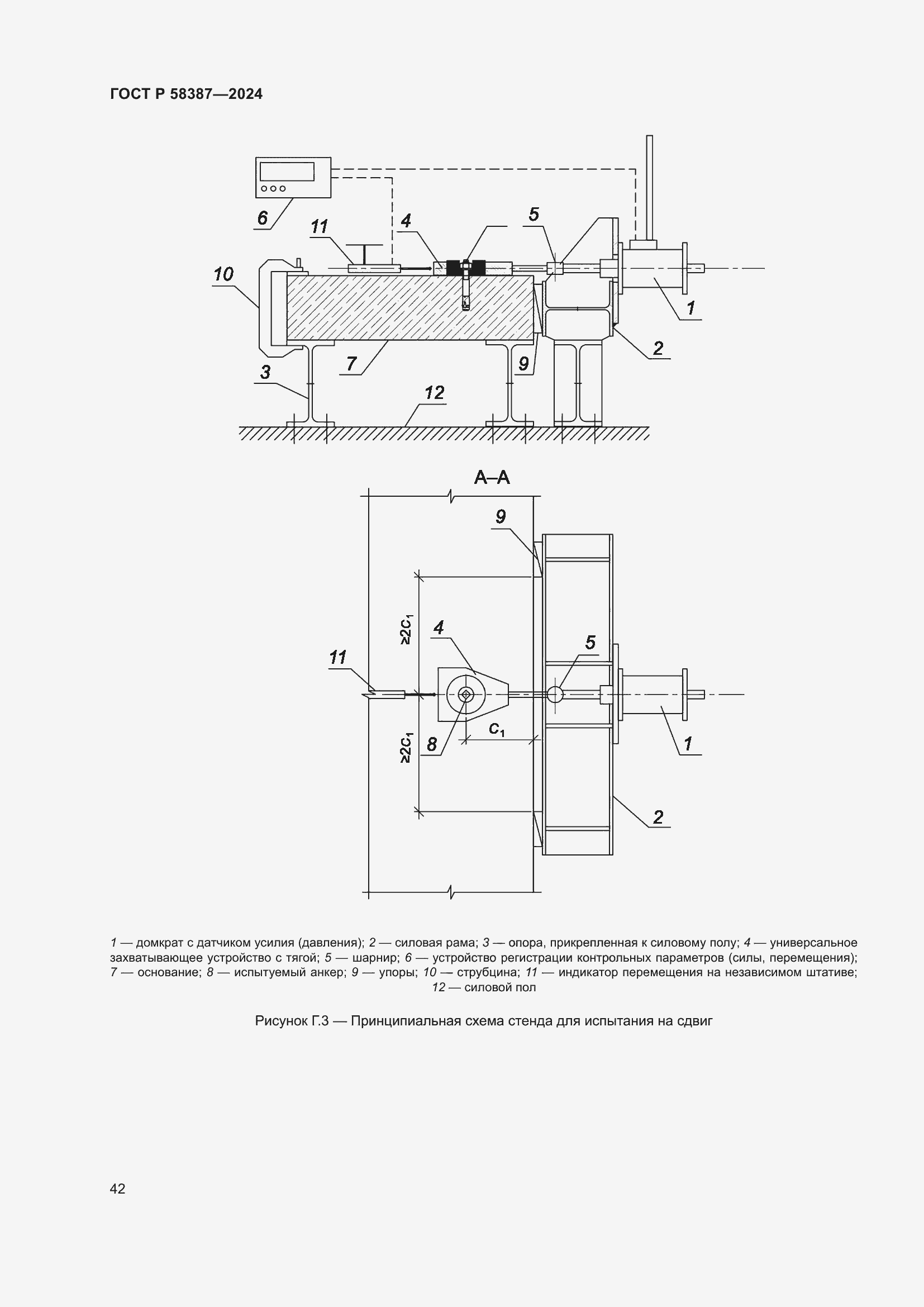
Настоящий стандарт устанавливает методы испытания клеевых анкеров, установленных в готовое основание из тяжелого или мелкозернистого бетона класса прочности В15-В60, и определяет требования к оценке их прочностных и деформационных характеристик. Настоящий стандарт не распространяется на клеевые анкеры, компоненты которых дозируются вручную перед применением на строительном объекте без соответствующего инструмента, механические, пластиковые и распорно-клеевые анкеры и не содержит требований к оценке их несущей способности. Стандарт содержит требования к методам испытаний и оценке результатов испытаний анкеров только при действии статических (квазистатических) нагрузок
Связи и замены
Заменяющий:
-
Взамен:
ГОСТ Р 58387-2019
Описание стандарта
ГОСТ Р 58387-2024 Анкеры клеевые для крепления в бетон. Методы испытаний
Страницы стандарта





















































