ГОСТ Р 58683-2019 Двери судовые внутренние огнезадерживающие типа «В». Общие технические требования
ГОСТ Р
Скачать ГОСТ в PDF или DOC бесплатно
Основная информация
Обозначение:
ГОСТ Р 58683-2019
Статус:
Действует
Тип:
ГОСТ Р
Название русское:
Двери судовые внутренние огнезадерживающие типа «В». Общие технические требования
Название английское:
Ship’s internal fire-retarding doors type «B». General technical requirements
Даты и сроки
Дата издания:
12-30-19
Дата введения в действие:
04-01-20
Дата завершения срока действия:
-
Применение и описание
Область и условия применения:
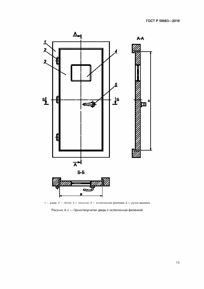
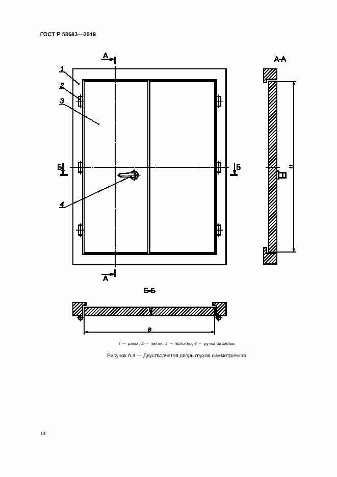
Настоящий стандарт распространяется на судовые внутренние огнезадерживающие двери, устанавливаемые в огнезадерживающих переборках класса «В» судов и плавсредств (далее - суда). Настоящий стандарт устанавливает классификацию, основные параметры и размеры огнезадерживающих дверей, общие технические требования к их изготовлению и поставке
Связи и замены
Заменяющий:
-
Описание стандарта
ГОСТ Р 58683-2019 Двери судовые внутренние огнезадерживающие типа «В». Общие технические требования
Страницы стандарта


















