ГОСТ Р 58841.2-2020 Оборудование сорбционное газовое для обогрева и/или охлаждения с номинальной тепловой мощностью, не более 70 кВт. Часть 2. Безопасность
ГОСТ Р
Скачать ГОСТ в PDF или DOC бесплатно
Основная информация
Обозначение:
ГОСТ Р 58841.2-2020
Статус:
Действует
Тип:
ГОСТ Р
Название русское:
Оборудование сорбционное газовое для обогрева и/или охлаждения с номинальной тепловой мощностью, не более 70 кВт. Часть 2. Безопасность
Название английское:
Gas-fired sorption appliances for heating and/or cooling with a net heat input not exceeding 70 kW. Part 2. Safety
Даты и сроки
Дата издания:
08-25-20
Дата введения в действие:
03-01-21
Дата завершения срока действия:
-
Применение и описание
Область и условия применения:
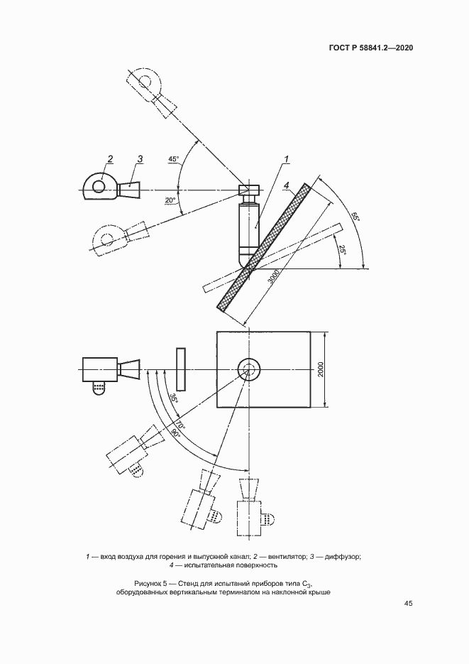
Требования серии стандартов ГОСТ Р 58841 распространяется на следующие приборы или их комбинации: - газовый сорбционный чиллер; - газовый сорбционный чиллер/нагреватель; - газовый сорбционный тепловой насос. Настоящая серия стандартов предназначена для применения приборов, предназначенных для обогрева и охлаждения помещений. При этом приборы могут быть с рекуперацией тепла или без нее
Связи и замены
Заменяющий:
-
Описание стандарта
ГОСТ Р 58841.2-2020 Оборудование сорбционное газовое для обогрева и/или охлаждения с номинальной тепловой мощностью, не более 70 кВт. Часть 2. Безопасность
Страницы стандарта























































































