ГОСТ 25815-83 Винты гребные. Термины и определения
ГОСТ
Скачать ГОСТ в PDF или DOC бесплатно
Основная информация
Обозначение:
ГОСТ 25815-83
Статус:
Действует
Тип:
ГОСТ
Название русское:
Винты гребные. Термины и определения
Название английское:
Propellers. Terms and definitions
Даты и сроки
Дата издания:
08-18-83
Дата введения в действие:
01-01-84
Дата завершения срока действия:
-
Применение и описание
Область и условия применения:
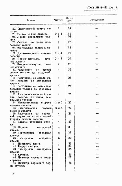
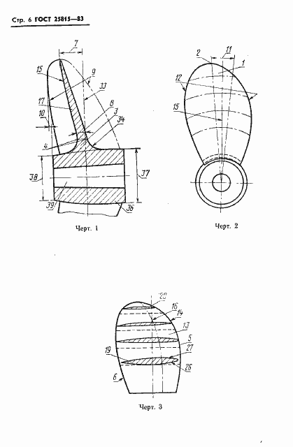
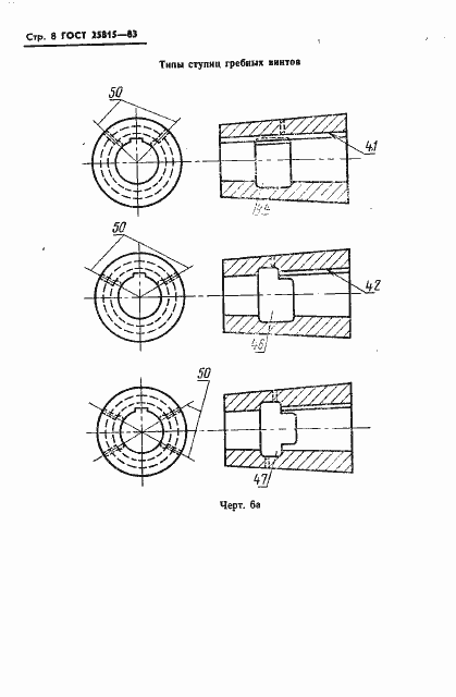
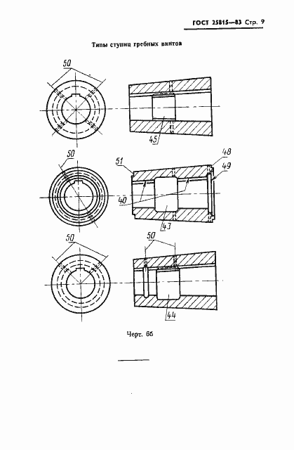
Настоящий стандарт устанавливает применяемые в науке, технике и производстве термины и определения понятий гребных винтов
Связи и замены
Заменяющий:
-
Описание стандарта
ГОСТ 25815-83 Винты гребные. Термины и определения
Страницы стандарта










