ГОСТ 25982-83 Наконечники стоматологические к микроприводу. Общие технические условия
ГОСТ
Скачать ГОСТ в PDF или DOC бесплатно
Основная информация
Обозначение:
ГОСТ 25982-83
Статус:
Действует
Тип:
ГОСТ
Название русское:
Наконечники стоматологические к микроприводу. Общие технические условия
Название английское:
Dental handpieces for micromotors. General specifications
Даты и сроки
Дата издания:
11-01-88
Дата введения в действие:
06-30-84
Дата завершения срока действия:
-
Применение и описание
Область и условия применения:
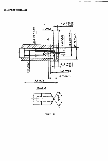
Настоящий стандарт распространяется на стоматологические наконечники, предназначенные для крепления инструментов с хвостовиком диаметром 2,35 мм и передачи им вращения от микропривода для проведения зубоврачебных работ в клинических условиях и изготовляемые для нужд народного хозяйства и экспорта в страны с умеренным и тропическим климатом. Настоящий стандарт не распространяется на наконечники для уплотнения амальгамы, наконечники для зуботехнических работ и эндодонтические наконечники
Связи и замены
Заменяющий:
-
Изменения и переиздания
Список изменений:
№1 от (рег. ) «Срок действия продлен» №2 от (рег. ) «Поправка» №3 от (рег. ) «Срок действия продлен»
Описание стандарта
ГОСТ 25982-83 Наконечники стоматологические к микроприводу. Общие технические условия
Страницы стандарта





















