ГОСТ 27875-88 Наконечники стоматологические пневмотурбинные и муфты шлангов. Присоединительные размеры
ГОСТ
Скачать ГОСТ в PDF или DOC бесплатно
Основная информация
Обозначение:
ГОСТ 27875-88
Статус:
Действует
Тип:
ГОСТ
Название русское:
Наконечники стоматологические пневмотурбинные и муфты шлангов. Присоединительные размеры
Название английское:
Air turbine dental handpieces and flexible hose connectors. Mounting dimensions
Даты и сроки
Дата издания:
01-11-89
Дата введения в действие:
06-30-89
Дата завершения срока действия:
-
Применение и описание
Область и условия применения:
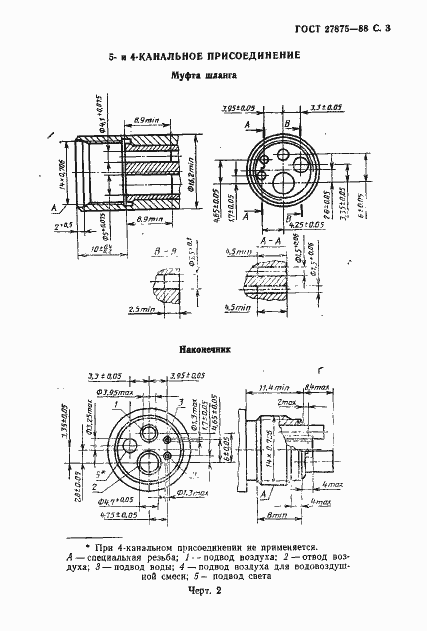
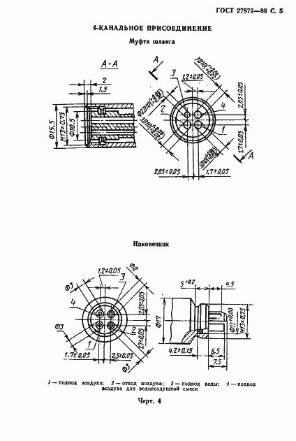
Настоящий стандарт распространяется на стоматологические пневмотурбинные наконечники, пневматические аппараты для снятия зубного камня (далее - наконечники), пневмобормашины и устанавливает присоединительные размеры наконечников и муфт гибких шлангов, предназначенных для соединения наконечников и гибких шлангов пневмобормашин, с помощью которых обеспечивается питание наконечников водой, воздухом, светом и отвод воздуха
Связи и замены
Заменяющий:
-
Описание стандарта
ГОСТ 27875-88 Наконечники стоматологические пневмотурбинные и муфты шлангов. Присоединительные размеры
Страницы стандарта






