ГОСТ Р 71289-2024 Архитектура базовая построения систем контрольно-измерительной аппаратуры PXIe. Технические требования
ГОСТ Р
Скачать ГОСТ в PDF или DOC бесплатно
Основная информация
Обозначение:
ГОСТ Р 71289-2024
Статус:
Действует
Тип:
ГОСТ Р
Название русское:
Архитектура базовая построения систем контрольно-измерительной аппаратуры PXIe. Технические требования
Название английское:
The basic architecture of PXIe test and measurement instrumentation systems. Technical specifications
Даты и сроки
Дата издания:
03-18-24
Дата введения в действие:
04-01-24
Дата завершения срока действия:
-
Применение и описание
Область и условия применения:
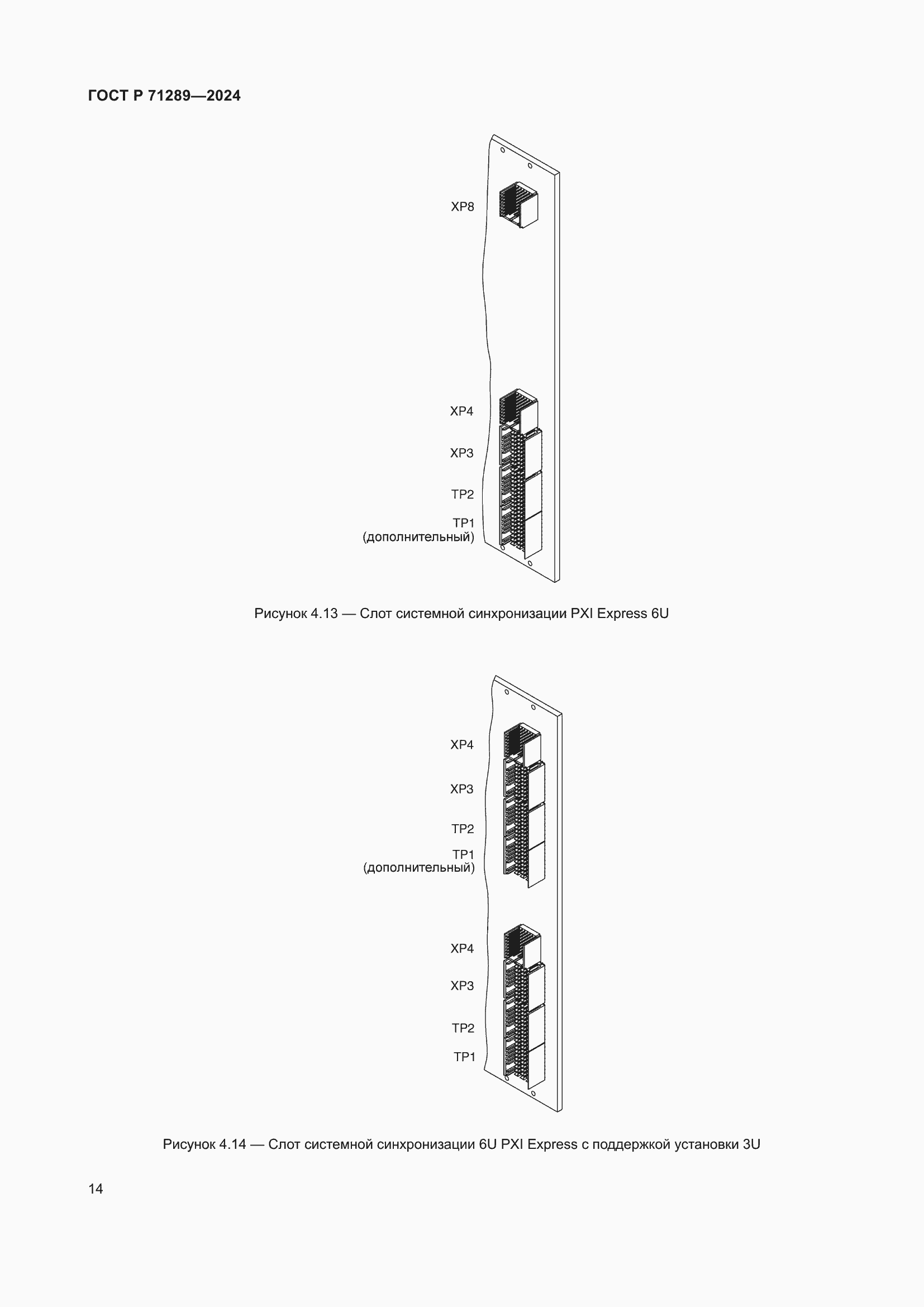
Настоящий стандарт распространяется на модульную контрольно-измерительную аппаратуру и устанавливает требования к разработке программно-аппаратных средств на основе архитектуры PXI Express. Настоящий стандарт предназначен для решения следующих задач: - обеспечения возможности гибкой конфигурации КИА для получения наилучшей производительности при эксплуатации; - снижения стоимости разработки и внедрения КИА; - снижения габаритных размеров контрольно-измерительных комплексов; - повышения производительности модульных систем путем организации высокоскоростных потоков данных и тестовых сигналов; - облегчения модификации КИА путем замены или дополнения модифицированных инструментальных модулей при сохранении неизменной структуры всей системы КИА; - обеспечения возможности разработки систем с применением высокоскоростного интерфейса PCIe
Связи и замены
Заменяющий:
-
Описание стандарта
ГОСТ Р 71289-2024 Архитектура базовая построения систем контрольно-измерительной аппаратуры PXIe. Технические требования
Страницы стандарта

















































































