ГОСТ Р 71375-2024 Вентиляция зданий. Эксплуатационные испытания оборудования для вентиляции жилых помещений. Испытание на определение рабочих характеристик механических приточных и вытяжных вентиляционных установок с воздуховодами, включая рекуперацию тепла
ГОСТ Р
Скачать ГОСТ в PDF или DOC бесплатно
Основная информация
Обозначение:
ГОСТ Р 71375-2024
Статус:
Действует
Тип:
ГОСТ Р
Название русское:
Вентиляция зданий. Эксплуатационные испытания оборудования для вентиляции жилых помещений. Испытание на определение рабочих характеристик механических приточных и вытяжных вентиляционных установок с воздуховодами, включая рекуперацию тепла
Название английское:
Ventilation for buildings. Performance testing of equipment for residential ventilation. Performance testing of ducted mechanical supply and exhaust ventilation units, including heat recovery
Даты и сроки
Дата издания:
09-18-24
Дата введения в действие:
01-01-25
Дата завершения срока действия:
-
Применение и описание
Область и условия применения:
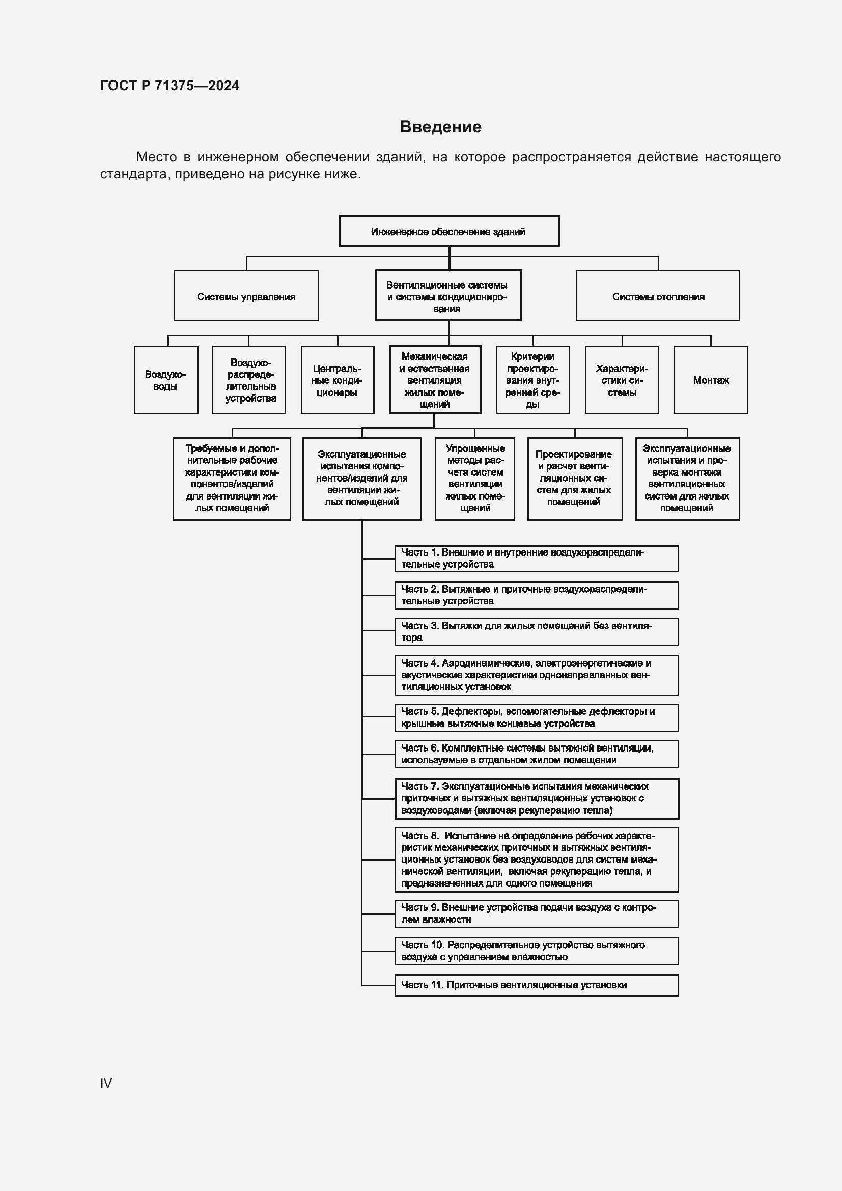
Настоящий стандарт устанавливает методы лабораторных испытаний и требования к испытаниям для определения аэродинамических, тепловых, акустических и электрических характеристик механических приточных и вытяжных вентиляционных установок с воздуховодами, используемых для жилых помещений
Связи и замены
Заменяющий:
-
Описание стандарта
ГОСТ Р 71375-2024 Вентиляция зданий. Эксплуатационные испытания оборудования для вентиляции жилых помещений. Испытание на определение рабочих характеристик механических приточных и вытяжных вентиляционных установок с воздуховодами, включая рекуперацию тепла
Страницы стандарта









































