ГОСТ Р 71505-2024 Системы автоматического контроля выбросов и сбросов. Системы автоматического контроля выбросов. Общие положения
ГОСТ Р
Скачать ГОСТ в PDF или DOC бесплатно
Основная информация
Обозначение:
ГОСТ Р 71505-2024
Статус:
Действует
Тип:
ГОСТ Р
Название русское:
Системы автоматического контроля выбросов и сбросов. Системы автоматического контроля выбросов. Общие положения
Название английское:
Automatic emission and discharge control systems. Automatic control systems for pollutant emissions. General provisions
Даты и сроки
Дата издания:
08-15-24
Дата введения в действие:
03-01-25
Дата завершения срока действия:
-
Применение и описание
Область и условия применения:
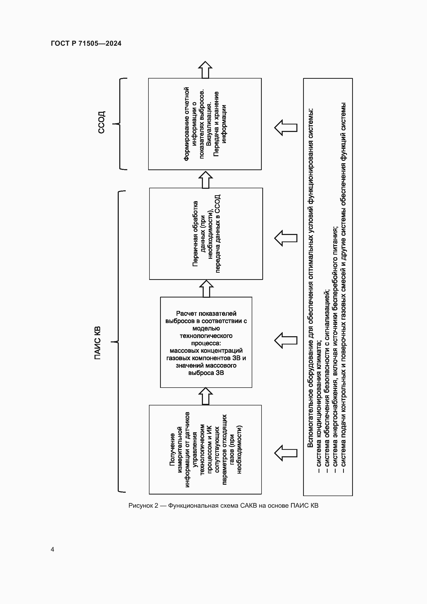
Настоящий стандарт распространяется на системы автоматического контроля выбросов загрязняющих веществ, используемые для измерения, учета и передачи информации о показателях выбросов загрязняющих веществ в государственный реестр объектов, оказывающих негативное воздействие на окружающую среду. Стандарт устанавливает общие положения о составе, функциях систем автоматического контроля выбросов и требованиях к ним
Связи и замены
Заменяющий:
-
Описание стандарта
ГОСТ Р 71505-2024 Системы автоматического контроля выбросов и сбросов. Системы автоматического контроля выбросов. Общие положения
Страницы стандарта











