ГОСТ Р 71559-2024 Нефтяная и газовая промышленность. Системы трубопроводного транспорта. Арматура подводных трубопроводов
ГОСТ Р
Скачать ГОСТ в PDF или DOC бесплатно
Основная информация
Обозначение:
ГОСТ Р 71559-2024
Статус:
Действует
Тип:
ГОСТ Р
Название русское:
Нефтяная и газовая промышленность. Системы трубопроводного транспорта. Арматура подводных трубопроводов
Название английское:
Oil and gas industry. Pipeline transport systems. Submarine pipeline fittings
Даты и сроки
Дата издания:
09-03-24
Дата введения в действие:
09-01-24
Дата завершения срока действия:
-
Применение и описание
Область и условия применения:
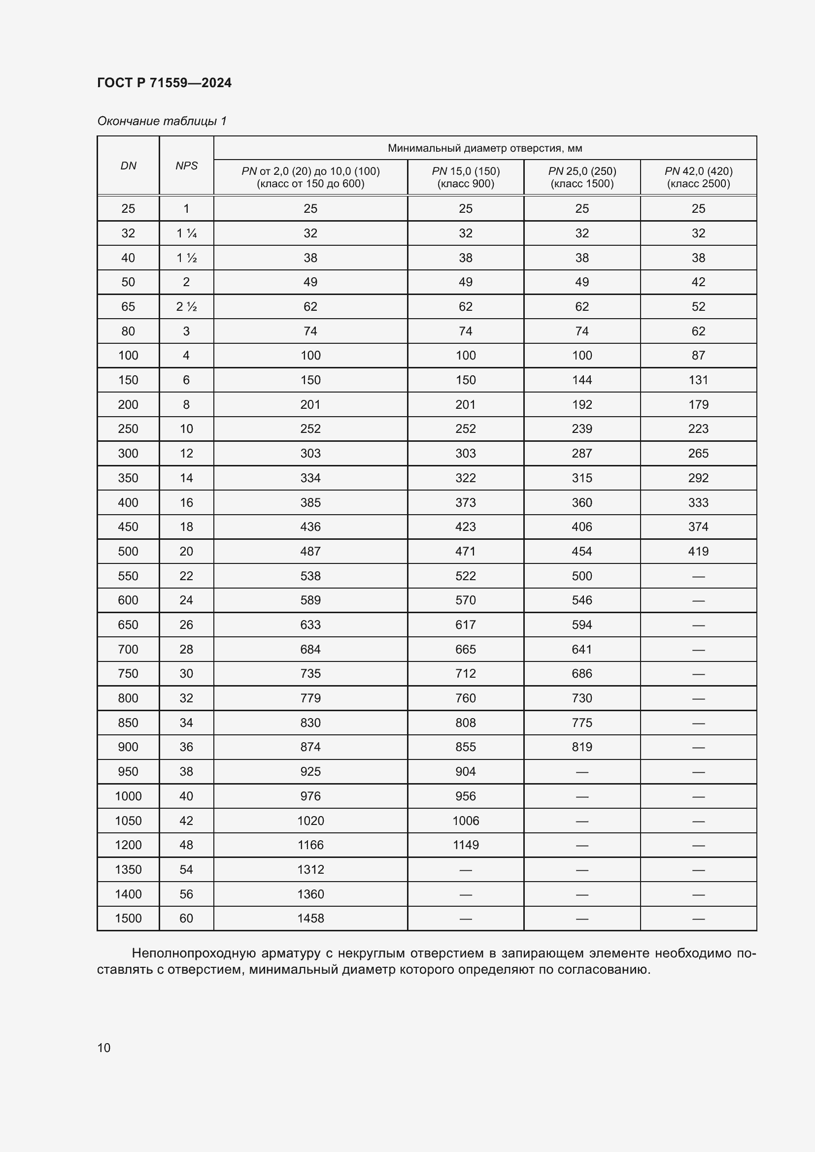
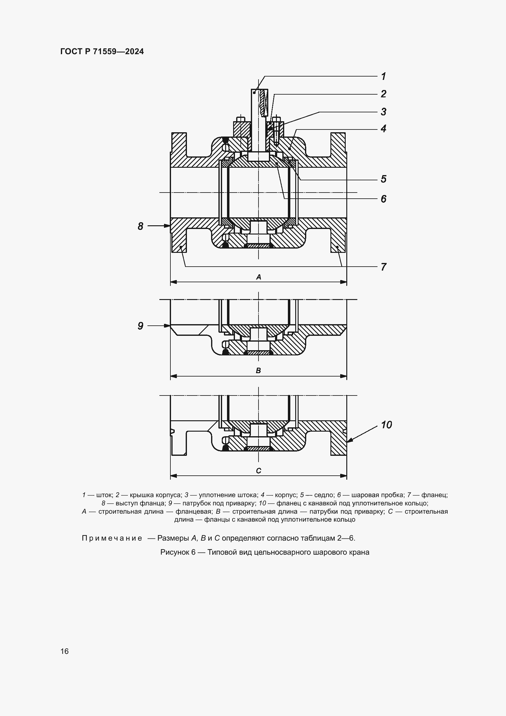
Настоящий стандарт устанавливает порядок проектирования, изготовления, испытаний и хранения арматуры подводных морских трубопроводов, транспортирующих природный газ, нефть, нефтепродукты, а также рекомендации к документации шаровых кранов, обратных клапанов, задвижек и пробковых кранов для подводного применения в морских трубопроводных системах
Связи и замены
Заменяющий:
-
Описание стандарта
ГОСТ Р 71559-2024 Нефтяная и газовая промышленность. Системы трубопроводного транспорта. Арматура подводных трубопроводов
Страницы стандарта





























































































