ГОСТы >
43.040.15 Информационное оборудование. Встроенные компьютерные системы >
ГОСТ Р ИСО 11898-2-2015
ГОСТ Р ИСО 11898-2-2015 Транспорт дорожный. Местная контроллерная сеть (CAN). Часть 2. Устройство доступа к высокоскоростной среде
ГОСТ Р ИСО
Скачать ГОСТ в PDF или DOC бесплатно
Основная информация
Обозначение:
ГОСТ Р ИСО 11898-2-2015
Статус:
Действует
Тип:
ГОСТ Р ИСО
Название русское:
Транспорт дорожный. Местная контроллерная сеть (CAN). Часть 2. Устройство доступа к высокоскоростной среде
Название английское:
Road vehicles. Controller area network (CAN). Part 2. High-speed medium access unit
Даты и сроки
Дата издания:
02-08-16
Дата введения в действие:
08-01-16
Дата завершения срока действия:
-
Применение и описание
Область и условия применения:
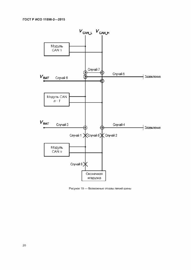
Настоящий стандарта определяет устройство высокоскоростного (скорости передачи до 1 Мбит/с) доступа к каналу связи (MAU) и некоторые особенности интерфейса канала связи (MDI) в соответствии с ИСО 8802-3, включающие физический уровень сети контроллеров CAN. Это протокол последовательной передачи данных, который поддерживает распределенное управление в реальном времени и мультиплексирование данных для использования в дорожных транспортных средствах
Связи и замены
Заменяющий:
-
Описание стандарта
ГОСТ Р ИСО 11898-2-2015 Транспорт дорожный. Местная контроллерная сеть (CAN). Часть 2. Устройство доступа к высокоскоростной среде
Страницы стандарта


























