ГОСТ Р 50351.1-92 Инструменты стоматологические для лечения и обработки канала корня зуба. Часть 1. Корневые напильники, дрильборы, пульпоэкстракторы, рашпили, каналонаполнители, зонды и ватные иглы
ГОСТ Р
Скачать ГОСТ в PDF или DOC бесплатно
Основная информация
Обозначение:
ГОСТ Р 50351.1-92
Статус:
Действует
Тип:
ГОСТ Р
Название русское:
Инструменты стоматологические для лечения и обработки канала корня зуба. Часть 1. Корневые напильники, дрильборы, пульпоэкстракторы, рашпили, каналонаполнители, зонды и ватные иглы
Название английское:
Dental root-canal instruments. Part 1. Files reamers, barbed broaches, rasps, paste carriers, explorers and cotton broaches
Даты и сроки
Дата издания:
01-14-93
Дата введения в действие:
01-01-94
Дата завершения срока действия:
-
Применение и описание
Область и условия применения:
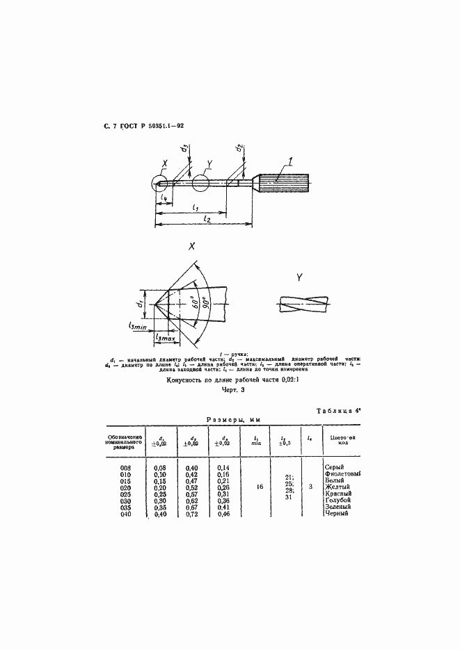
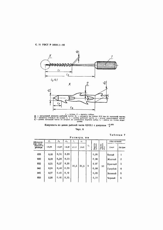
Настоящий стандарт устанавливает требования и методы испытаний для корневых напильников, дрильборов, пульпоэкстракторов, рашпилей, каналонаполнителей, зондов и ватных игл. Кроме того, в нем изложены общие технические требования и методы испытаний, дана информация по цветовому коду и идентификационным символам инструментов для лечения и обработки канала корня зуба всех типов
Связи и замены
Заменяющий:
-
Описание стандарта
ГОСТ Р 50351.1-92 Инструменты стоматологические для лечения и обработки канала корня зуба. Часть 1. Корневые напильники, дрильборы, пульпоэкстракторы, рашпили, каналонаполнители, зонды и ватные иглы
Страницы стандарта



























