ГОСТ Р ИСО 22497-2023 Конструкции фасадные светопрозрачные. Термины и определения
ГОСТ Р ИСО
Скачать ГОСТ в PDF или DOC бесплатно
Основная информация
Обозначение:
ГОСТ Р ИСО 22497-2023
Статус:
Действует
Тип:
ГОСТ Р ИСО
Название русское:
Конструкции фасадные светопрозрачные. Термины и определения
Название английское:
The translucent facade structures. Terms and definitions
Даты и сроки
Дата издания:
07-24-23
Дата введения в действие:
08-01-23
Дата завершения срока действия:
-
Применение и описание
Область и условия применения:
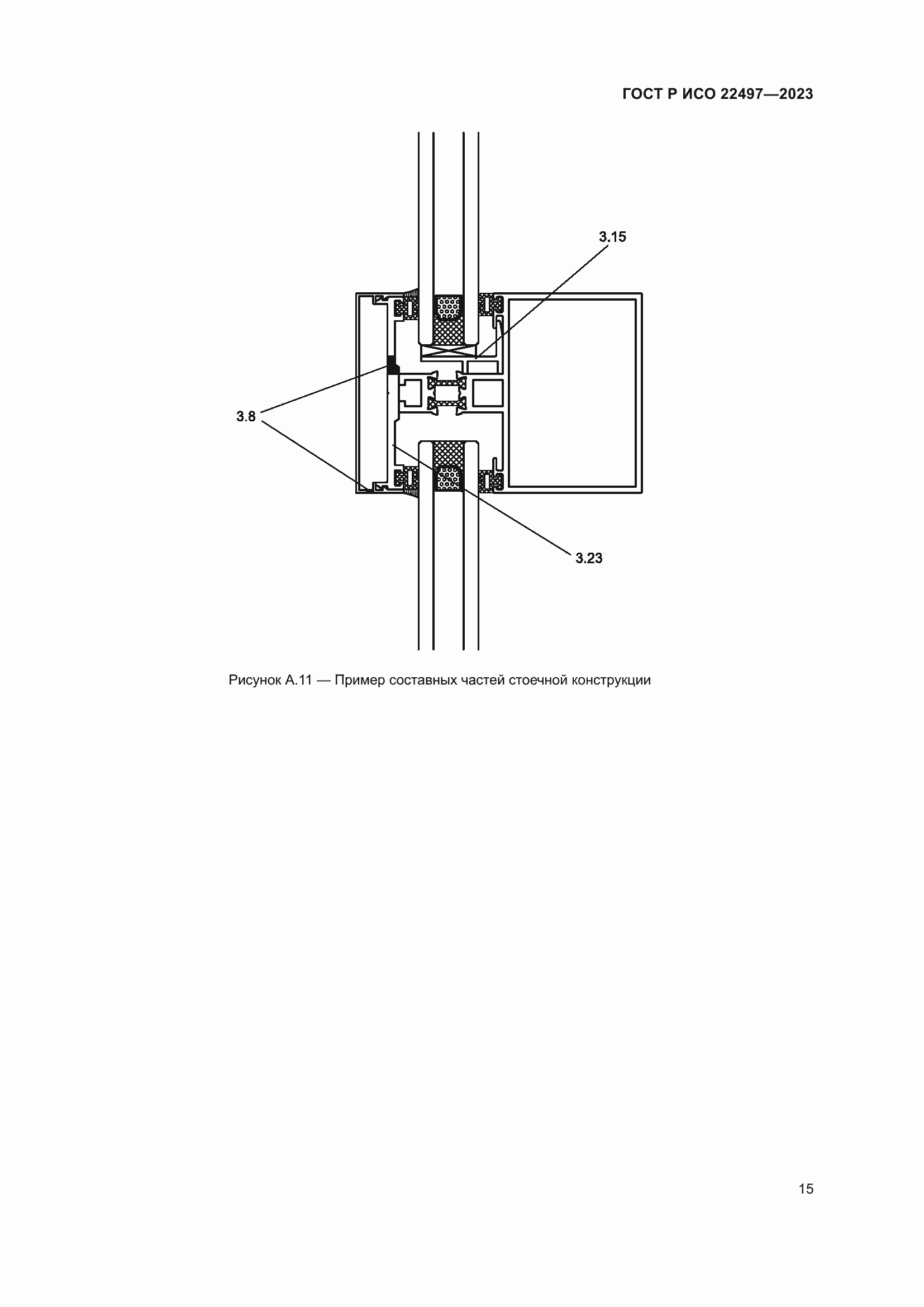
Настоящий стандарт распространяется на фасадные светопрозрачные конструкции и устанавливает термины и их определения к фасадным светопрозрачным конструкциям и их частям. Он содержит достаточно полный перечень часто используемых терминов. Настоящий стандарт не распространяется на определение физических параметров, связанных с требованиями к характеристикам фасадов и относящимся к ним методам испытаний
Связи и замены
Заменяющий:
-
Описание стандарта
ГОСТ Р ИСО 22497-2023 Конструкции фасадные светопрозрачные. Термины и определения
Страницы стандарта























