ГОСТ Р ИСО/МЭК 18038-2023 Информационные технологии. Компьютерная графика, обработка изображений и представление данных об окружающей среде. Представление сенсоров в смешанной и дополненной реальности
ГОСТ Р ИСО/МЭК
Скачать ГОСТ в PDF или DOC бесплатно
Основная информация
Обозначение:
ГОСТ Р ИСО/МЭК 18038-2023
Статус:
Действует
Тип:
ГОСТ Р ИСО/МЭК
Название русское:
Информационные технологии. Компьютерная графика, обработка изображений и представление данных об окружающей среде. Представление сенсоров в смешанной и дополненной реальности
Название английское:
Information technology. Computer graphics, image processing and environmental representation. Sensor representation in mixed and augmented reality
Даты и сроки
Дата издания:
09-04-23
Дата введения в действие:
01-30-24
Дата завершения срока действия:
-
Применение и описание
Область и условия применения:
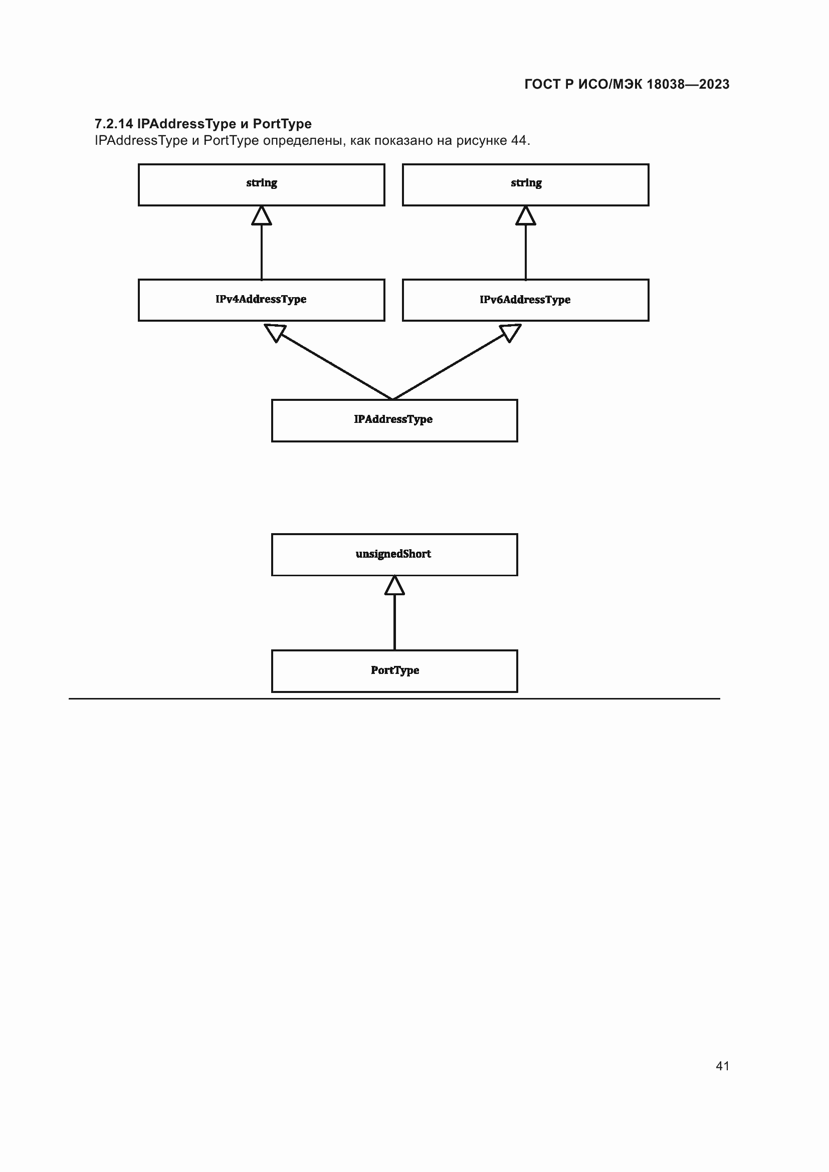
Настоящий стандарт определяет структуру и информационную эталонную модель для представления трехмерных миров смешанной реальности на основе сенсоров. В настоящем стандарте излагаются концепции, информационная модель, архитектура, функции систем и способы интеграции виртуальных трехмерных миров и физических сенсоров для создания приложений смешанной реальности с интерфейсами физических сенсоров. Настоящий стандарт также определяет формат обмена, необходимый для обмена данными между приложениями смешанной реальности на основе физических сенсоров и для их хранения. Настоящий стандарт описывает следующие функциональные возможности: - представление физических сенсоров в 3D-сценах; - определение физических сенсоров в 3D-сценах; - представление функциональных возможностей каждого физического сенсора в 3D-сценах; - представление физических свойств каждого физического сенсора в 3D-сценах; - управление физическими сенсорами в 3D-сценах; - интерфейс с информацией о физических сенсорах в 3D-сценах
Связи и замены
Заменяющий:
-
Описание стандарта
ГОСТ Р ИСО/МЭК 18038-2023 Информационные технологии. Компьютерная графика, обработка изображений и представление данных об окружающей среде. Представление сенсоров в смешанной и дополненной реальности
Страницы стандарта





























































