ГОСТ Р МЭК 332-3-96 Испытания кабелей на нераспространение горения. Испытание проводов или кабелей, проложенных в пучках
ГОСТ Р МЭК
Скачать ГОСТ в PDF или DOC бесплатно
Основная информация
Обозначение:
ГОСТ Р МЭК 332-3-96
Статус:
Заменен
Тип:
ГОСТ Р МЭК
Название русское:
Испытания кабелей на нераспространение горения. Испытание проводов или кабелей, проложенных в пучках
Название английское:
Tests on cables under fire conditions. Test on bunched o wires or cables
Даты и сроки
Дата издания:
02-04-97
Дата введения в действие:
01-01-98
Дата завершения срока действия:
01-01-07
Применение и описание
Область и условия применения:
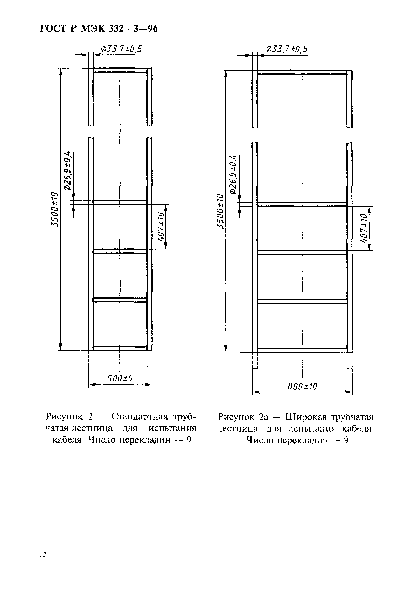
Настоящий стандарт устанавливает метод испытаний по определению стойкости кабелей или проводов, проложенных в пучках, к распространению горения независимо от их назначения, например, силовые кабели или кабели связи (в т.ч. кабели для передачи информации и оптические кабели) и т.д. Установлены три категории испытаний (А, В, С), которые отличаются продолжительностью испытания и объемом неметаллического материала в образце; они однозначно не связаны с конкретными уровнями обеспечения безопасности при реальных способах прокладки кабелей. Категория А имеет два кодовых обозначения для способов крепления
Связи и замены
Заменяющий:
-
Заменяющий в части:
ГОСТ Р МЭК 60332-3-10-2005 в части испытательной установки; ГОСТ Р МЭК 60332-3-21-2005 в части испытаний по категории A F/R; ГОСТ Р МЭК 60332-3-22-2005 в части испытаний по категории A; ГОСТ Р МЭК 60332-3-23-2005 в части испытаний по категории B; ГОСТ Р МЭК 60332-3-24-2005 в части испытаний по категории C
Описание стандарта
ГОСТ Р МЭК 332-3-96 Испытания кабелей на нераспространение горения. Испытание проводов или кабелей, проложенных в пучках
Страницы стандарта



























