ГОСТ Р МЭК 60331-11-2003 Испытания электрических и оптических кабелей в условиях воздействия пламени. Сохранение работоспособности. Часть 11. Испытательное оборудование. Воздействие пламени температурой не менее 750 °С
ГОСТ Р МЭК
Скачать ГОСТ в PDF или DOC бесплатно
Основная информация
Обозначение:
ГОСТ Р МЭК 60331-11-2003
Статус:
Заменен
Тип:
ГОСТ Р МЭК
Название русское:
Испытания электрических и оптических кабелей в условиях воздействия пламени. Сохранение работоспособности. Часть 11. Испытательное оборудование. Воздействие пламени температурой не менее 750 °С
Название английское:
Tests for electric and optical fibre cables under fire conditions. Circuit integrity. Part 11. Apparatus. Fire alone at a flame temperature of at least 750 °C
Даты и сроки
Дата издания:
04-08-03
Дата введения в действие:
01-01-04
Дата завершения срока действия:
01-01-14
Применение и описание
Область и условия применения:
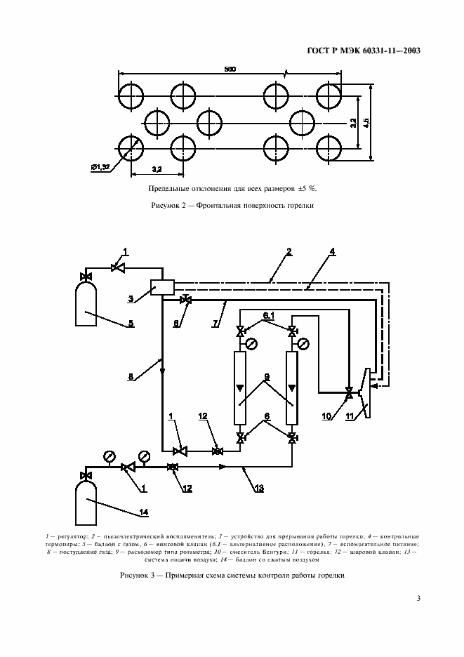
Настоящий стандарт устанавливает требования к испытательному оборудованию, используемому при испытании кабелей, сохраняющих работоспособность при воздействии пламени в заданных условиях испытания при нормируемой интенсивности тепловыделения пламени температурой не менее 750 град. С
Связи и замены
Заменяющий:
ГОСТ Р МЭК 60331-11-2012
Описание стандарта
ГОСТ Р МЭК 60331-11-2003 Испытания электрических и оптических кабелей в условиях воздействия пламени. Сохранение работоспособности. Часть 11. Испытательное оборудование. Воздействие пламени температурой не менее 750 °С
Страницы стандарта










