ГОСТ Р МЭК 62301-2011 Приборы бытовые электрические. Измерение потребляемой мощности в режиме ожидания
ГОСТ Р МЭК
Скачать ГОСТ в PDF или DOC бесплатно
Основная информация
Обозначение:
ГОСТ Р МЭК 62301-2011
Статус:
Отменен
Тип:
ГОСТ Р МЭК
Название русское:
Приборы бытовые электрические. Измерение потребляемой мощности в режиме ожидания
Название английское:
Household electrical appliances. Measurement of standby power
Даты и сроки
Дата издания:
01-17-12
Дата введения в действие:
07-01-12
Дата завершения срока действия:
06-01-17
Применение и описание
Область и условия применения:
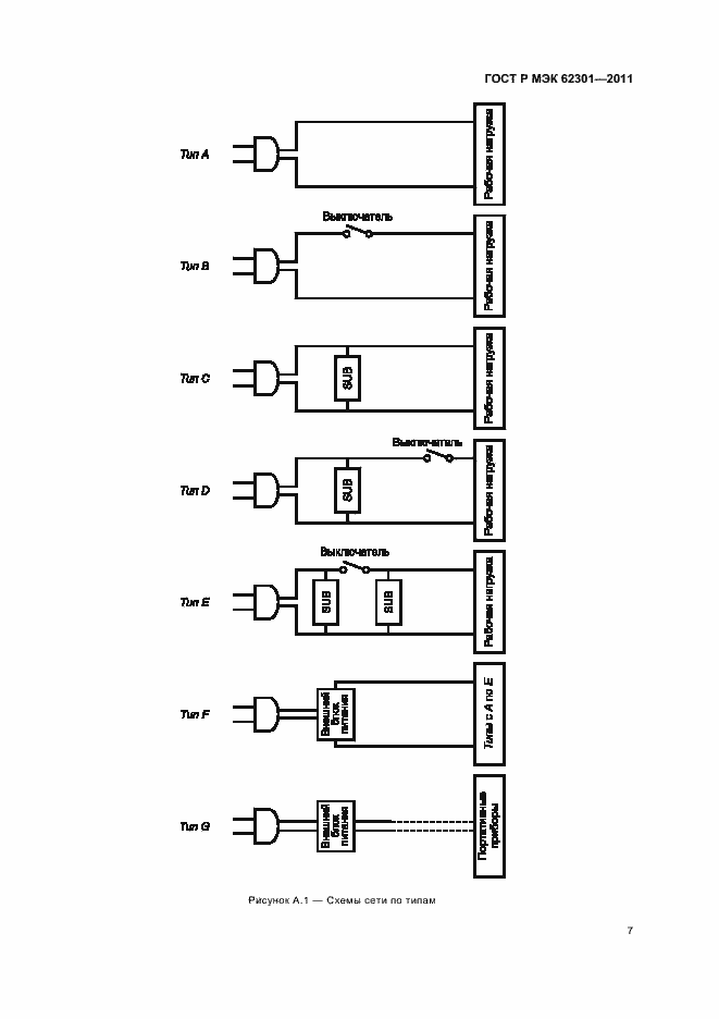
Цель настоящего стандарта - установить методы испытаний для определения потребления энергии рядом приборов и оборудования в режиме ожидания (когда они не выполняют своей основной функции). Настоящий стандарт определяет этот режим как наименьшее потребление энергии прибором, подключенным к сети. Указанный метод испытания применяют также к другим режимам с малым потреблением энергии – установившимся и выполняющим фоновую или второстепенную функцию (например, контроль или отображение). Приложение А содержит информацию о возможных режимах, которые могут определяться составом и конструкцией различных приборов на основе их схемы и компоновки, но стандарт не устанавливает эти режимы. Режимы с низким потреблением энергии (в дополнение к режиму ожидания), к которым применяется данное испытание, должны быть определены стандартами для эксплуатационных характеристик соответствующих приборов. Например, МЭК 62087 описывает ряд режимов для телевизоров, видеомагнитофонов и аналогичного оборудования
Связи и замены
Заменяющий:
-
Изменения и переиздания
Список изменений:
№0 от (рег. ) «Текстовое изменение; Изменено заглавие»
Описание стандарта
ГОСТ Р МЭК 62301-2011 Приборы бытовые электрические. Измерение потребляемой мощности в режиме ожидания
Страницы стандарта



















