ГОСТ Р 72145-2025 Фрезы торцовые насадные. Основные размеры
Межгосударственный стандарт
Скачать ГОСТ в PDF или DOC бесплатно
Основная информация
Обозначение:
ГОСТ Р 72145-2025
Статус:
Принят
Название русское:
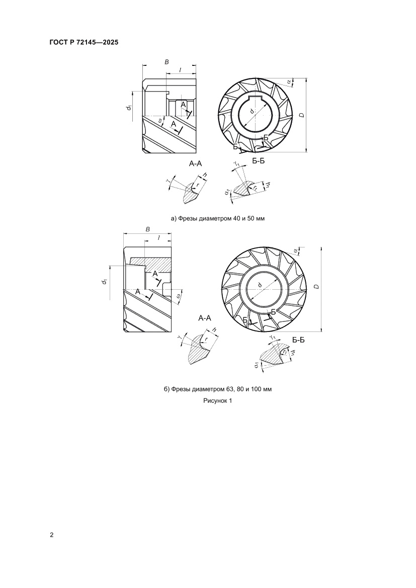
Фрезы торцовые насадные. Основные размеры
Название английское:
Face milling cutters. Basic dimensions
Даты и сроки
Дата введения в действие:
07-01-26
Описание стандарта
ГОСТ Р 72145-2025 Фрезы торцовые насадные. Основные размеры
Страницы стандарта







