ГОСТы >
01.080.30 Графические обозначения для машиностроительных и строительных чертежей, диаграмм, планов, карт и соответствующей технической документации на продукцию >
ГОСТ 21.501-93
ГОСТ 21.501-93 Система проектной документации для строительства. Правила выполнения архитектурно-строительных рабочих чертежей
ГОСТ
Скачать ГОСТ в PDF или DOC бесплатно
Основная информация
Обозначение:
ГОСТ 21.501-93
Статус:
Заменен
Тип:
ГОСТ
Название русское:
Система проектной документации для строительства. Правила выполнения архитектурно-строительных рабочих чертежей
Название английское:
System of design documents for construction. Rules for execution of architectural and construction working drawings
Даты и сроки
Дата регистрации:
11-10-93
Дата издания:
03-01-08
Дата введения в действие:
09-01-94
Дата завершения срока действия:
05-01-13
Применение и описание
Область и условия применения:
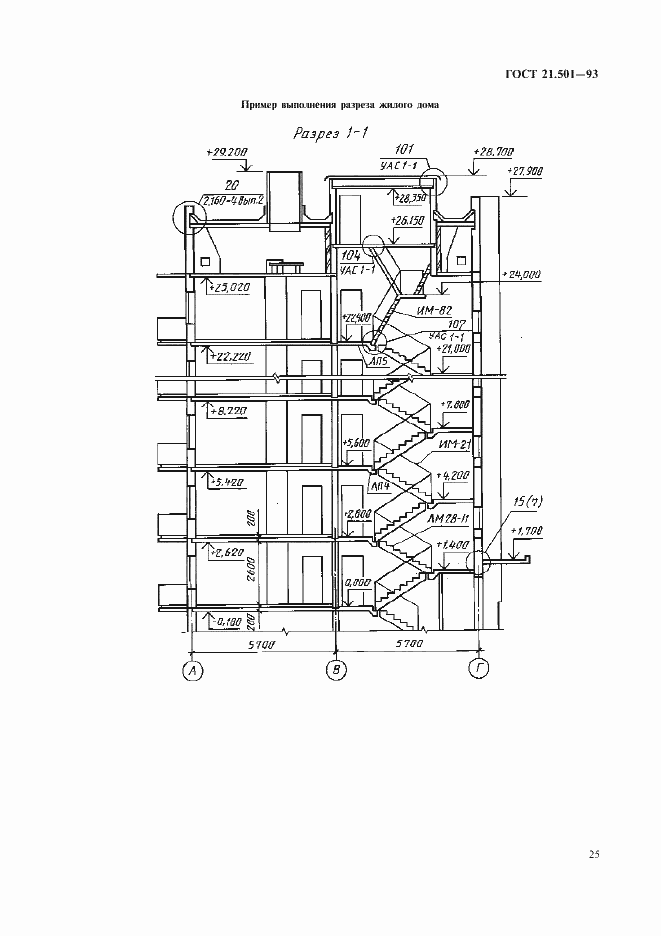
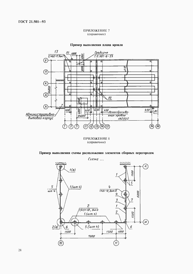
Настоящий стандарт устанавливает состав и правила оформления архитектурно-строительных рабочих чертежей, зданий и сооружений различного назначения
Связи и замены
Заменяющий:
ГОСТ 21.501-2011
Взамен:
ГОСТ 21.107-78;ГОСТ 21.501-80;ГОСТ 21.502-78;ГОСТ 21.503-80
Заменяющий в части:
ГОСТ 21.201-2011 в части приложения 1
Описание стандарта
ГОСТ 21.501-93 Система проектной документации для строительства. Правила выполнения архитектурно-строительных рабочих чертежей
Страницы стандарта







































