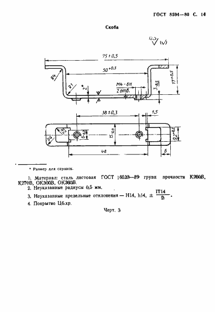
ГОСТ 8594-80 Коробки для установки выключателей и штепсельных розеток при скрытой электропроводке. Общие технические условия
ГОСТ
Скачать ГОСТ в PDF или DOC бесплатно
Основная информация
Обозначение:
ГОСТ 8594-80
Статус:
Действует
Тип:
ГОСТ
Название русское:
Коробки для установки выключателей и штепсельных розеток при скрытой электропроводке. Общие технические условия
Название английское:
Boxes for incorporation of switches and receptacles for buried wiring. General specifications
Даты и сроки
Дата издания:
07-01-94
Дата введения в действие:
01-01-82
Дата завершения срока действия:
-
Применение и описание
Область и условия применения:
Настоящий стандарт распространяется на коробки для монтажа выключателей по ГОСТ 7397.0-89 и штепсельных розеток по ГОСТ 7396.1-89 с помощью распорных лапок при выполнении скрытой электропроводки
Связи и замены
Заменяющий:
-
Взамен:
ГОСТ 8594-70
Изменения и переиздания
Список изменений:
№1 от (рег. ) «Срок действия продлен» №2 от (рег. ) «Срок действия продлен» №3 от (рег. ) «Поправка»
Описание стандарта
ГОСТ 8594-80 Коробки для установки выключателей и штепсельных розеток при скрытой электропроводке. Общие технические условия
Страницы стандарта















