ГОСТ Р 41.55-99 Единообразные предписания, касающиеся официального утверждения механических деталей сцепных устройств составов транспортных средств
ГОСТ Р
Скачать ГОСТ в PDF или DOC бесплатно
Основная информация
Обозначение:
ГОСТ Р 41.55-99
Статус:
Заменен
Тип:
ГОСТ Р
Название русское:
Единообразные предписания, касающиеся официального утверждения механических деталей сцепных устройств составов транспортных средств
Название английское:
Uniform provisions concerning the approval of mechanical coupling components of combinations of vehicles
Даты и сроки
Дата издания:
12-25-00
Дата введения в действие:
07-01-00
Дата завершения срока действия:
07-01-06
Применение и описание
Область и условия применения:
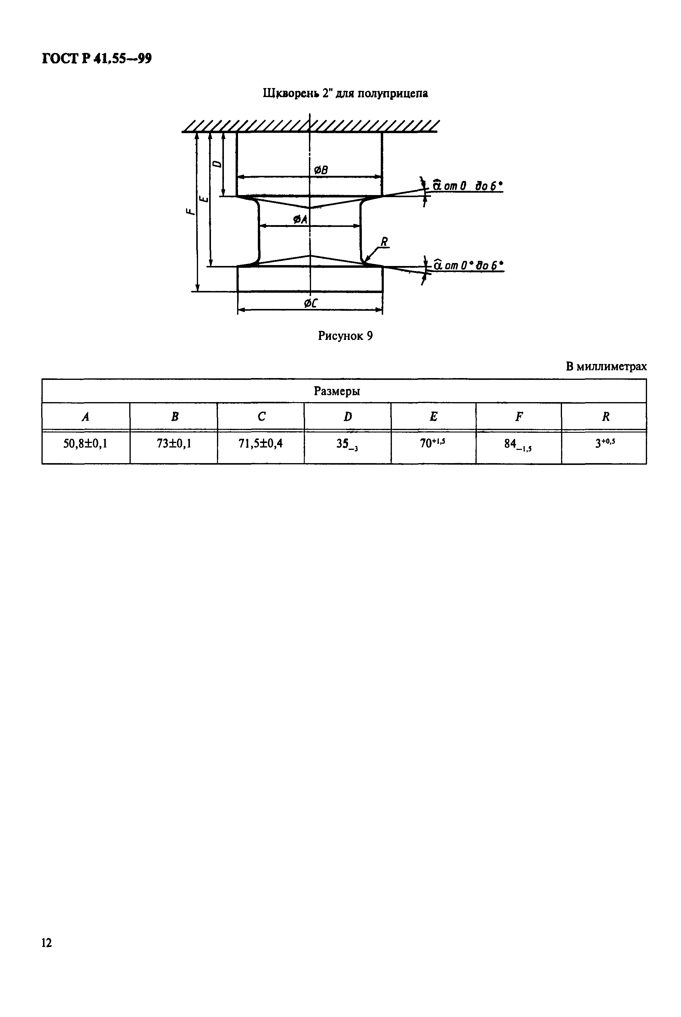
Настоящий стандарт устанавливает единообразные предписания, касающиеся официального утверждения механических деталей сцепных устройств составов транспортных средств
Связи и замены
Заменяющий:
ГОСТ Р 41.55-2005
Описание стандарта
ГОСТ Р 41.55-99 Единообразные предписания, касающиеся официального утверждения механических деталей сцепных устройств составов транспортных средств
Страницы стандарта


















