ГОСТ Р 70841-2023 Нефтяная и газовая промышленность. Сбор и обмен данными по надежности и техническому обслуживанию оборудования
ГОСТ Р
Скачать ГОСТ в PDF или DOC бесплатно
Основная информация
Обозначение:
ГОСТ Р 70841-2023
Статус:
Действует
Тип:
ГОСТ Р
Название русское:
Нефтяная и газовая промышленность. Сбор и обмен данными по надежности и техническому обслуживанию оборудования
Название английское:
Petroleum and natural gas industries. Collection and exchange of reliability and maintenance data for equipment
Даты и сроки
Дата издания:
08-30-23
Дата введения в действие:
09-04-23
Дата завершения срока действия:
-
Применение и описание
Область и условия применения:
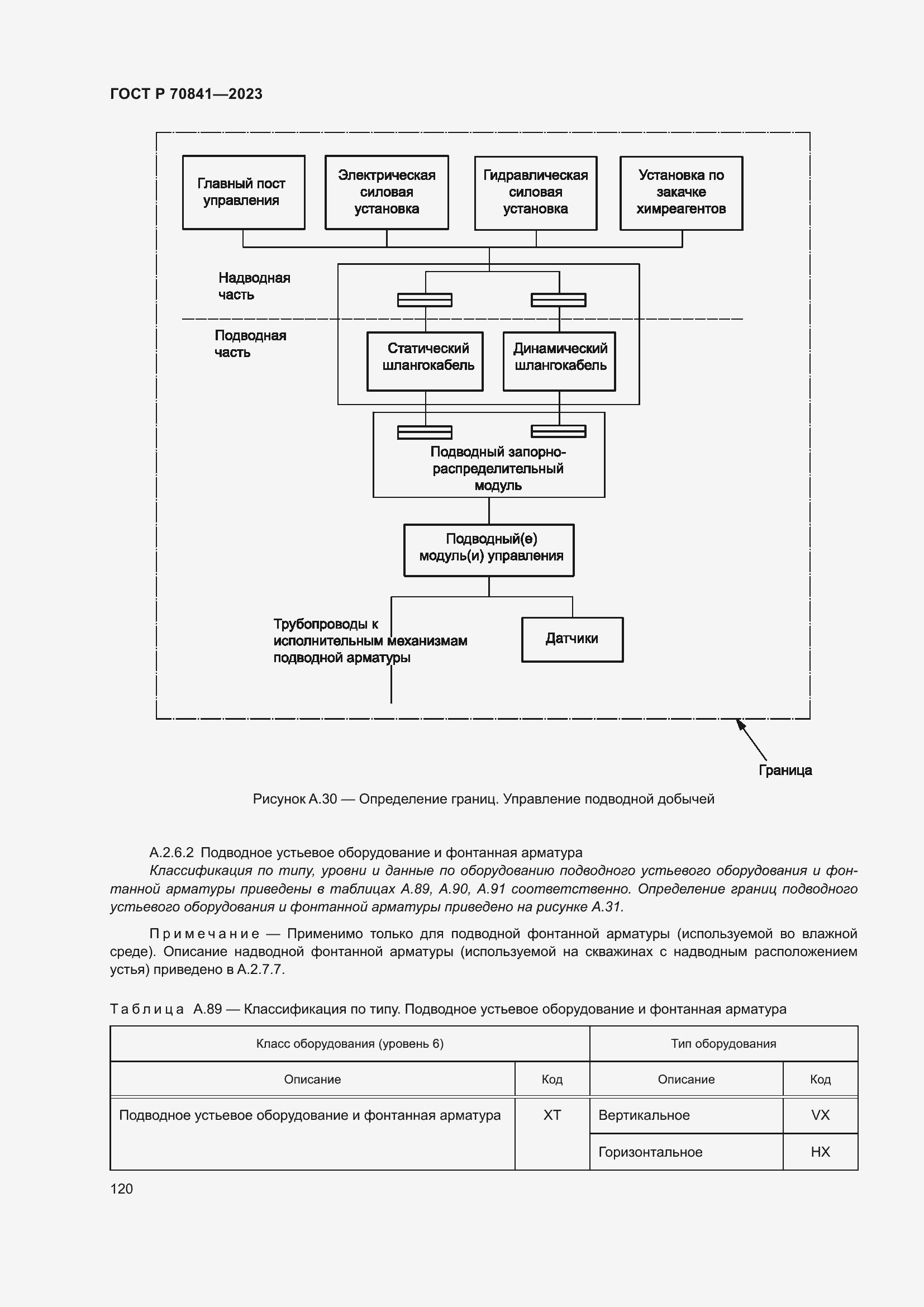
Настоящий стандарт представляет комплексную основу для сбора данных по надежности и техническому обслуживанию оборудования в стандартном формате для всех установок и операций в нефтяной, нефтехимической и газовой промышленности на протяжении всего жизненного цикла оборудования. Настоящий стандарт устанавливает принципы сбора данных, соответствующие термины и определения. Определения видов отказов, приведенные в разделе 2, могут быть использованы в качестве терминологического справочника по надежности для различных количественных и качественных применений. Настоящий стандарт также определяет подходы к управлению качеством данных и процедуры обеспечения качества данных, предоставляя таким образом руководство для пользователей
Связи и замены
Заменяющий:
-
Описание стандарта
ГОСТ Р 70841-2023 Нефтяная и газовая промышленность. Сбор и обмен данными по надежности и техническому обслуживанию оборудования
Страницы стандарта


































































































































































































































































