ГОСТ Р ИСО 6312-93 Транспорт дорожный. Накладка с колодкой в сборе дисковых и барабанных тормозов. Метод определения сопротивления сдвигу накладки относительно колодки
ГОСТ Р ИСО
Скачать ГОСТ в PDF или DOC бесплатно
Основная информация
Обозначение:
ГОСТ Р ИСО 6312-93
Статус:
Заменен
Тип:
ГОСТ Р ИСО
Название русское:
Транспорт дорожный. Накладка с колодкой в сборе дисковых и барабанных тормозов. Метод определения сопротивления сдвигу накладки относительно колодки
Название английское:
Road vehicles. Brake lilings. Shear strength of disc brake pag and drum brake shoe assemblies. Test procedure
Даты и сроки
Дата издания:
06-10-93
Дата введения в действие:
01-01-94
Дата завершения срока действия:
01-01-08
Применение и описание
Область и условия применения:
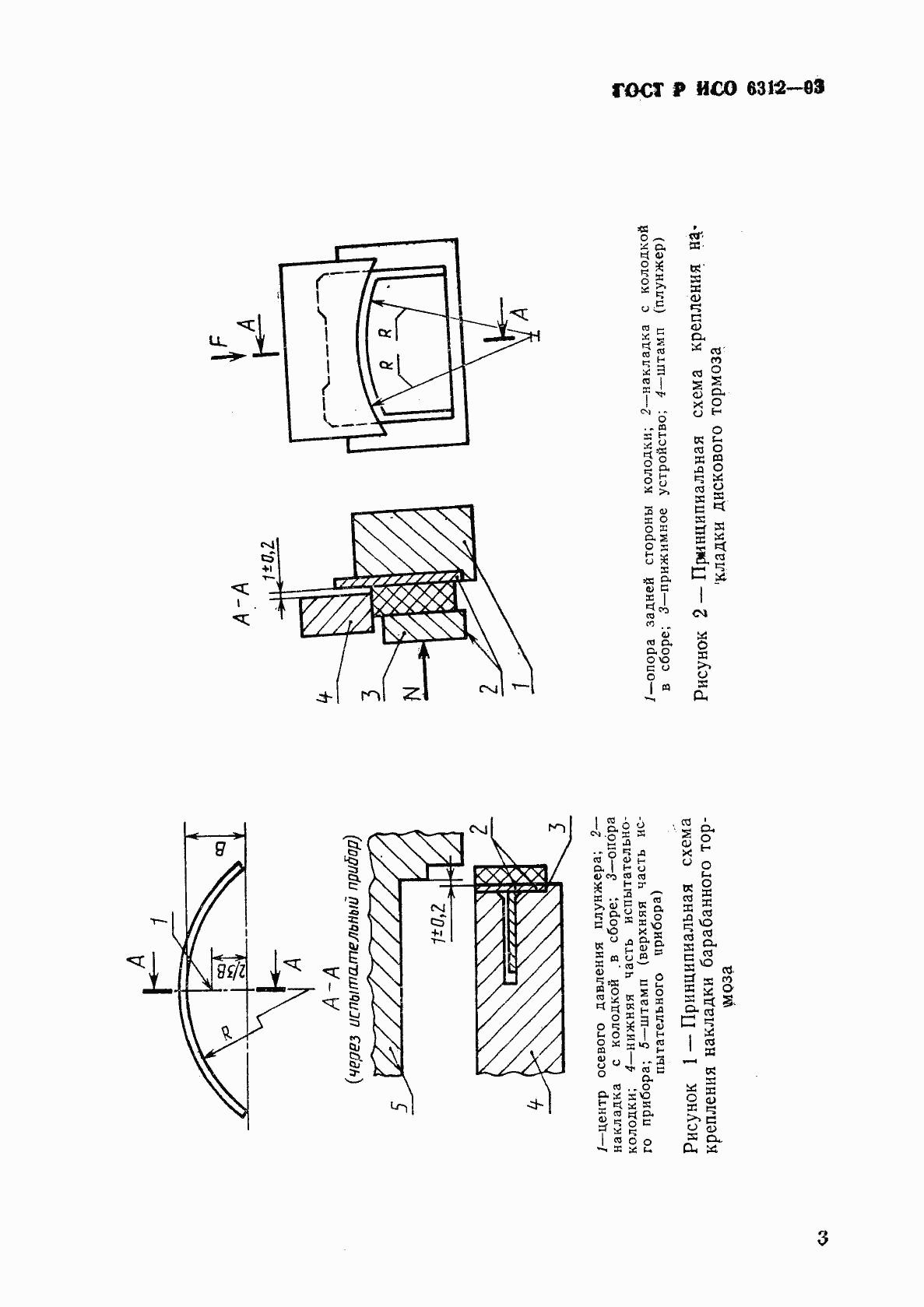
Настоящий стандарт устанавливает метод определения сопротивления сдвигу накладки относительно колодки и оценку адгезии между материалом тормозной накладки и металлической колодкой. Стандарт распространяется на приформованные или приклеенные накладки с колодками в сборе дисковых и барабанных тормозов для автотранспортных средств
Связи и замены
Заменяющий:
ГОСТ Р ИСО 6312-2007
Описание стандарта
ГОСТ Р ИСО 6312-93 Транспорт дорожный. Накладка с колодкой в сборе дисковых и барабанных тормозов. Метод определения сопротивления сдвигу накладки относительно колодки
Страницы стандарта








