ГОСТы >
11.180.10 Средства помощи и приспособления для обеспечения доступности объектов и инфраструктуры >
ГОСТ Р ИСО 7176-7-2015
ГОСТ Р ИСО 7176-7-2015 Кресла-коляски. Часть 7. Измерение размеров сиденья и колеса
ГОСТ Р ИСО
Скачать ГОСТ в PDF или DOC бесплатно
Основная информация
Обозначение:
ГОСТ Р ИСО 7176-7-2015
Статус:
Действует
Тип:
ГОСТ Р ИСО
Название русское:
Кресла-коляски. Часть 7. Измерение размеров сиденья и колеса
Название английское:
Wheelchairs. Part 7. Measurement of seating and wheel dimensions
Даты и сроки
Дата издания:
02-08-16
Дата введения в действие:
01-01-17
Дата завершения срока действия:
-
Применение и описание
Область и условия применения:
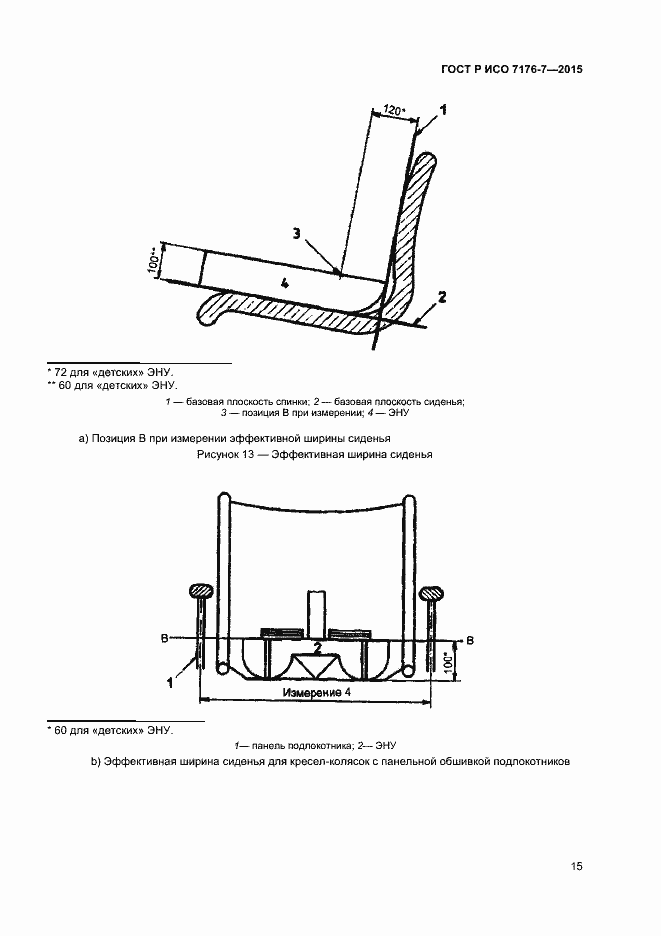
Настоящий стандарт устанавливает метод измерения параметров и размеров сиденья и колеса кресла-коляски
Связи и замены
Заменяющий:
-
Взамен:
ГОСТ Р 51082-97
Описание стандарта
ГОСТ Р ИСО 7176-7-2015 Кресла-коляски. Часть 7. Измерение размеров сиденья и колеса
Страницы стандарта

















































