ГОСТы >
11.180 Средства помощи для инвалидов и других лиц с ограничениями жизнедеятельности >
ГОСТ Р МЭК 60118-14-2003
ГОСТ Р МЭК 60118-14-2003 Аппараты слуховые программируемые. Технические требования к устройствам цифрового интерфейса. Размеры электрических соединителей
ГОСТ Р МЭК
Скачать ГОСТ в PDF или DOC бесплатно
Основная информация
Обозначение:
ГОСТ Р МЭК 60118-14-2003
Статус:
Действует
Тип:
ГОСТ Р МЭК
Название русское:
Аппараты слуховые программируемые. Технические требования к устройствам цифрового интерфейса. Размеры электрических соединителей
Название английское:
Programmable hearing aids. Specification of a digital interface devices. Dimensions of electrical connectors
Даты и сроки
Дата издания:
07-21-03
Дата введения в действие:
01-01-04
Дата завершения срока действия:
-
Применение и описание
Область и условия применения:
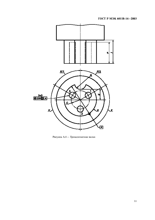
Настоящий стандарт устанавливает технические требования к устройствам цифрового интерфейса, предназначенным для передачи программирующих сигналов с устройств управления типа персональных ЭВМ на программируемые слуховые аппараты для обеспечения электронной настройки оперативных параметров последних. Стандарт распространяется на устройства интерфейса, использующие для связи с устройствами управления последовательный интерфейс и передающие сигналы на программируемые слуховые аппараты по кабелю. Стандарт не распространяется на устройства интерфейса, предназначенные для передачи программирующих сигналов любыми беспроводными методами (радио, инфракрасными и т.п.). Стандарт устанавливает также требования к присоединительным размерам электрических соединителей слуховых аппаратов всех типов
Связи и замены
Заменяющий:
-
Описание стандарта
ГОСТ Р МЭК 60118-14-2003 Аппараты слуховые программируемые. Технические требования к устройствам цифрового интерфейса. Размеры электрических соединителей
Страницы стандарта



















