ГОСТы >
11.180.10 Средства помощи и приспособления для обеспечения доступности объектов и инфраструктуры >
ГОСТ Р ИСО 22675-2019
ГОСТ Р ИСО 22675-2019 Протезирование. Испытание голеностопных узлов и узлов стоп протезов нижних конечностей. Требования и методы испытаний
ГОСТ Р ИСО
Скачать ГОСТ в PDF или DOC бесплатно
Основная информация
Обозначение:
ГОСТ Р ИСО 22675-2019
Статус:
Действует
Тип:
ГОСТ Р ИСО
Название русское:
Протезирование. Испытание голеностопных узлов и узлов стоп протезов нижних конечностей. Требования и методы испытаний
Название английское:
Prosthetics. Testing of ankle-foot devices and foot units. Requirements and test methods
Даты и сроки
Дата издания:
09-26-19
Дата введения в действие:
04-01-20
Дата завершения срока действия:
-
Применение и описание
Область и условия применения:
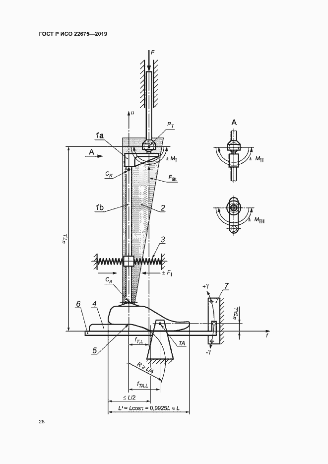
ВАЖНО - Настоящий стандарт пригоден для оценки соответствия голеностопных узлов и узлов стоп требованиям прочности, установленным в 4.4 ИСО 22523:2006 (см. примечание 1). Голеностопные узлы и узлы стоп, которые представлены на рынке и подтвердили свое соответствие требованиям прочности, установленным в 4.4 ИСО 22523:2006, посредством удовлетворения соответствующим испытаниям по ИСО 10328:2006, не требуют повторных испытаний по настоящему стандарту. ПРЕДУПРЕЖДЕНИЕ - Настоящий стандарт не пригоден для использования в качестве руководства при отборе конкретного голеностопного узла или узла стопы при назначении протезов нижней конечности индивидуального изготовления! Любое игнорирование этого предупреждения может быть опасным для инвалидов. Настоящий стандарт прежде всего устанавливает процедуру циклического испытания голеностопных узлов и узлов стоп наружных протезов нижних конечностей, позволяющего имитировать реальные условия нагружения в фазе опоры при ходьбе – от опоры на пятку до отрыва носка, что важно для проверки квалификационных требований, таких как прочность, износостойкость и срок службы
Связи и замены
Заменяющий:
-
Взамен:
ГОСТ Р ИСО 22675-2009
Описание стандарта
ГОСТ Р ИСО 22675-2019 Протезирование. Испытание голеностопных узлов и узлов стоп протезов нижних конечностей. Требования и методы испытаний
Страницы стандарта





















































































