ГОСТ Р 57328-2016 Экологический менеджмент. Руководство по включению экологических аспектов в стандарты на электротехническую продукцию
ГОСТ Р
Скачать ГОСТ в PDF или DOC бесплатно
Основная информация
Обозначение:
ГОСТ Р 57328-2016
Статус:
Действует
Тип:
ГОСТ Р
Название русское:
Экологический менеджмент. Руководство по включению экологических аспектов в стандарты на электротехническую продукцию
Название английское:
Environmental management. Guide on Inclusion of ecological aspects in electrotechnical product standards
Даты и сроки
Дата издания:
07-16-19
Дата введения в действие:
06-01-17
Дата завершения срока действия:
-
Применение и описание
Область и условия применения:
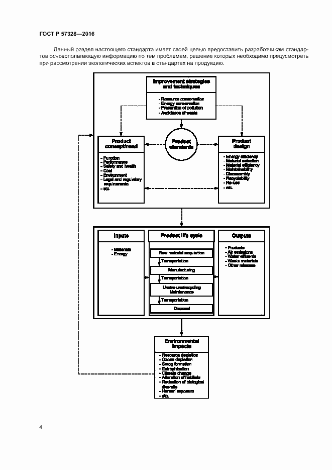
Настоящий стандарт предназначен для разработчиков стандартов и содержит руководящие указания, как учитывать аспекты, относящиеся к воздействию электротехнической продукции на окружающую среду, при подготовке национальных и международных стандартов на продукцию
Связи и замены
Заменяющий:
-
Описание стандарта
ГОСТ Р 57328-2016 Экологический менеджмент. Руководство по включению экологических аспектов в стандарты на электротехническую продукцию
Страницы стандарта














