ГОСТ Р 58531-2019 Управление организацией. Руководство по внедрению устойчивого менеджмента на малых и средних предприятиях
ГОСТ Р
Скачать ГОСТ в PDF или DOC бесплатно
Основная информация
Обозначение:
ГОСТ Р 58531-2019
Статус:
Действует
Тип:
ГОСТ Р
Название русское:
Управление организацией. Руководство по внедрению устойчивого менеджмента на малых и средних предприятиях
Название английское:
Governance of organization. Sustainable management implementation guide for small and medium-sized enterprises
Даты и сроки
Дата издания:
10-03-19
Дата введения в действие:
01-01-20
Дата завершения срока действия:
-
Применение и описание
Область и условия применения:
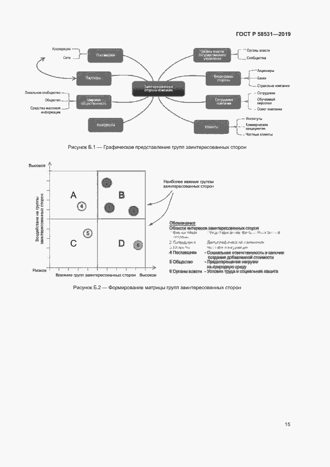
Настоящий стандарт содержит рекомендации по внедрению процесса устойчивого менеджмента во все бизнес-процессы компании, которые необходимо проверять на соответствие основным социальным, экологическим и экономическим требованиям. Цель внедрения методов устойчивого менеджмента состоит в достижении долгосрочного экономического процветания, экологической устойчивости и социальной стабильности компании, что будет вносить свой вклад в благосостояние общества в соответствии с его ожиданиями
Связи и замены
Заменяющий:
-
Описание стандарта
ГОСТ Р 58531-2019 Управление организацией. Руководство по внедрению устойчивого менеджмента на малых и средних предприятиях
Страницы стандарта


























