ГОСТ 29158-91 Деревообрабатывающее оборудование. Станки долбежные с качающимся инструментом. Терминология
ГОСТ
Скачать ГОСТ в PDF или DOC бесплатно
Основная информация
Обозначение:
ГОСТ 29158-91
Статус:
Действует
Тип:
ГОСТ
Название русское:
Деревообрабатывающее оборудование. Станки долбежные с качающимся инструментом. Терминология
Название английское:
Woodworking machines. Mortising machines with oscillating tool action. Nomenclature
Даты и сроки
Дата издания:
07-01-04
Дата введения в действие:
01-01-93
Дата завершения срока действия:
-
Применение и описание
Область и условия применения:
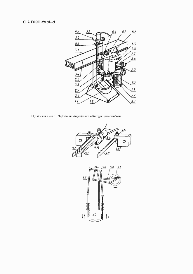
Настоящий стандарт распространяется на долбежные станки с качающимся инструментом и устанавливает терминологию основных деталей и узлов станков, обеспечивающую идентичность терминологических понятий, применяемых изготовителем и потребителем
Связи и замены
Заменяющий:
-
Описание стандарта
ГОСТ 29158-91 Деревообрабатывающее оборудование. Станки долбежные с качающимся инструментом. Терминология
Страницы стандарта






