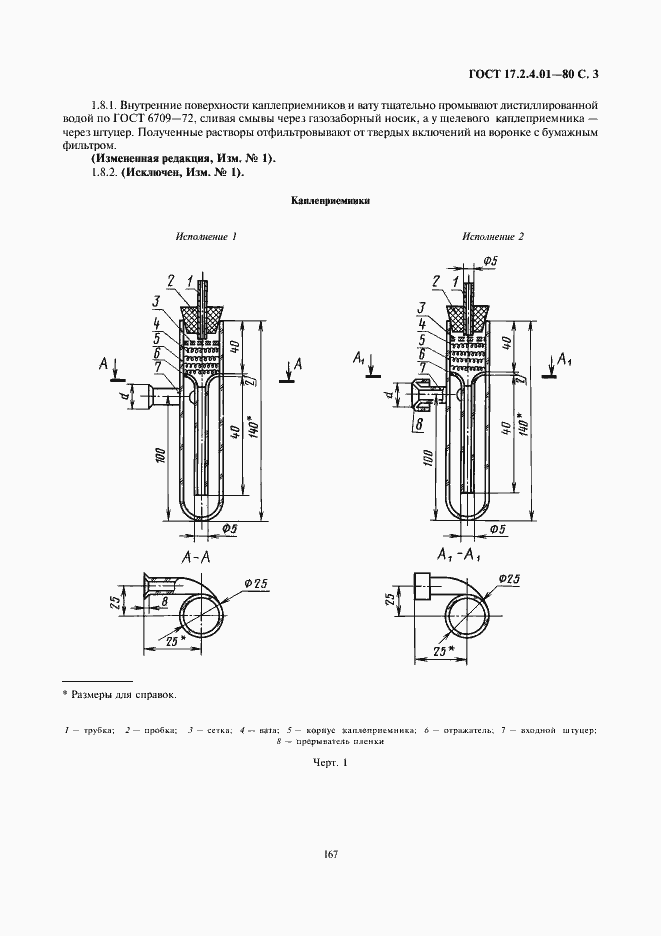
ГОСТ 17.2.4.01-80 Охрана природы. Атмосфера. Метод определения величины каплеуноса после мокрых пылегазоочистных аппаратов
ГОСТ
Скачать ГОСТ в PDF или DOC бесплатно
Основная информация
Обозначение:
ГОСТ 17.2.4.01-80
Статус:
Действует
Тип:
ГОСТ
Название русское:
Охрана природы. Атмосфера. Метод определения величины каплеуноса после мокрых пылегазоочистных аппаратов
Название английское:
Nature protection. Atmosphere. Method for determining the amount of drops carried after apparatus for wet scrubbing of dust and gases have been operated
Даты и сроки
Дата издания:
07-01-04
Дата введения в действие:
06-30-81
Дата завершения срока действия:
-
Применение и описание
Область и условия применения:
Настоящий стандарт устанавливает метод определения величины каплеуноса после мокрых аппаратов пылегазоочистки, орошаемых водными растворами солей, кислот и щелочей при конечном каплеуносе не более 5 г/м куб. (при нормальных условиях - температуре 0 град. С и давлении 101325 Па) и содержании в массе остаточной пыли водорастворимой соли с выбранным ионом-индикатором менее 2%. Скорость в газоходе на выбранном участке не должна превышать 25 м/с
Связи и замены
Заменяющий:
-
Изменения и переиздания
Список изменений:
№1 от (рег. ) «Срок действия продлен»
Описание стандарта
ГОСТ 17.2.4.01-80 Охрана природы. Атмосфера. Метод определения величины каплеуноса после мокрых пылегазоочистных аппаратов
Страницы стандарта






