ГОСТ Р ИСО 13752-2005 Качество воздуха. Оценка неопределенности метода измерений в условиях применения с использованием референтного метода
ГОСТ Р ИСО
Скачать ГОСТ в PDF или DOC бесплатно
Основная информация
Обозначение:
ГОСТ Р ИСО 13752-2005
Статус:
Действует
Тип:
ГОСТ Р ИСО
Название русское:
Качество воздуха. Оценка неопределенности метода измерений в условиях применения с использованием референтного метода
Название английское:
Air quality. Assessment of uncertainty of a measurement method under field conditions using a reference method
Даты и сроки
Дата издания:
03-09-06
Дата введения в действие:
06-01-06
Дата завершения срока действия:
-
Применение и описание
Область и условия применения:
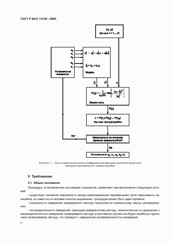
Настоящий стандарт устанавливает процедуру оценки неопределенности измерений, выполняемых "полевым" методом, подлежащим проверке, по другому (референтному) методу. Используемый референтный метод не обязательно должен быть стандартизован. Неопределенность измерений оценивают сравнением результатов измерений, полученных одновременно на реальных пробах проверяемым и референтным методами. Оценка неопределенности относится только к диапазону измерений, в котором она была получена. Настоящая процедура разработана специально для оценки пригодности (валидации) проверяемого метода
Связи и замены
Заменяющий:
-
Описание стандарта
ГОСТ Р ИСО 13752-2005 Качество воздуха. Оценка неопределенности метода измерений в условиях применения с использованием референтного метода
Страницы стандарта



















