ГОСТ Р ИСО 11418-3-2017 Тара и укупорочные средства для лекарственных препаратов. Часть 3. Флаконы из облегченного стекла с винтовой горловиной для твердых и жидких лекарственных форм
ГОСТ Р ИСО
Скачать ГОСТ в PDF или DOC бесплатно
Основная информация
Обозначение:
ГОСТ Р ИСО 11418-3-2017
Статус:
Действует
Тип:
ГОСТ Р ИСО
Название русское:
Тара и укупорочные средства для лекарственных препаратов. Часть 3. Флаконы из облегченного стекла с винтовой горловиной для твердых и жидких лекарственных форм
Название английское:
Containers and accessories for pharmaceutical preparations. Part 3. Bottles made of lightweight glass with a screw-neck for solid and liquid dosage forms
Даты и сроки
Дата издания:
09-10-19
Дата введения в действие:
07-01-18
Дата завершения срока действия:
-
Применение и описание
Область и условия применения:
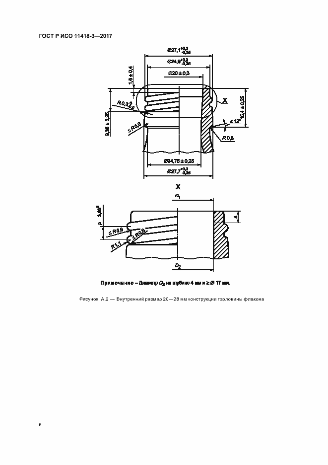
Настоящий стандарт устанавливает требования, предъявляемые к конструктивному исполнению, размерам, материалам и эксплуатационным характеристикам флаконов из облегченного стекла с винтовой горловиной для фармацевтических препаратов, выпускаемых в виде твердых и жидких лекарственных форм. Стеклянные флаконы с винтовой горловиной представляют собой первичную упаковку лекарственного препарата, находящуюся с ним в непосредственном контакте
Связи и замены
Заменяющий:
-
Описание стандарта
ГОСТ Р ИСО 11418-3-2017 Тара и укупорочные средства для лекарственных препаратов. Часть 3. Флаконы из облегченного стекла с винтовой горловиной для твердых и жидких лекарственных форм
Страницы стандарта











