ГОСТ Р ИСО 11418-4-2017 Тара и укупорочные средства для лекарственных препаратов. Часть 4. Стеклянные флаконы для таблеток
ГОСТ Р ИСО
Скачать ГОСТ в PDF или DOC бесплатно
Основная информация
Обозначение:
ГОСТ Р ИСО 11418-4-2017
Статус:
Действует
Тип:
ГОСТ Р ИСО
Название русское:
Тара и укупорочные средства для лекарственных препаратов. Часть 4. Стеклянные флаконы для таблеток
Название английское:
Containers and accessories for pharmaceutical preparations. Part 4. Tablet glass bottles
Даты и сроки
Дата издания:
09-16-19
Дата введения в действие:
07-01-18
Дата завершения срока действия:
-
Применение и описание
Область и условия применения:
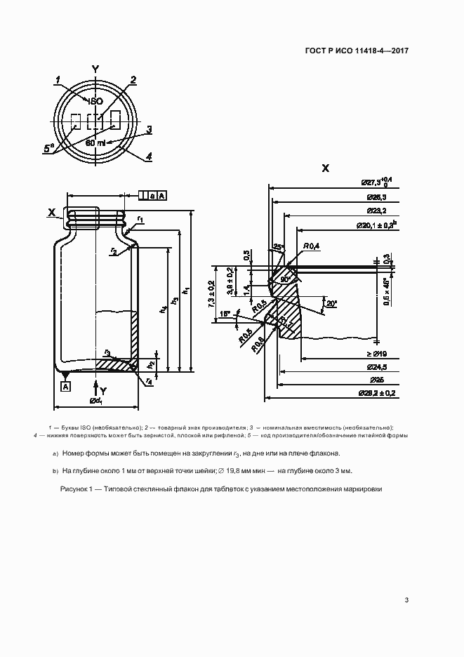
Настоящая часть стандарта ИСО 11418 устанавливает требования, предъявляемые к конструктивному исполнению, размерам, материалам и эксплуатационным характеристикам стеклянных флаконов для таблеток. Стеклянные флаконы для таблеток представляют собой первичную упаковку лекарственного средства, находящуюся с ним в непосредственном контакте. Настоящая часть стандарта ИСО 11418 применима к стеклянным флаконам для таблеток, используемым в фармации. Вместе с соответствующими укупорочными системами они выступают в качестве упаковки непарентеральных лекарственных препаратов, выпускаемых в твердых и жидких лекарственных формах
Связи и замены
Заменяющий:
-
Описание стандарта
ГОСТ Р ИСО 11418-4-2017 Тара и укупорочные средства для лекарственных препаратов. Часть 4. Стеклянные флаконы для таблеток
Страницы стандарта










