ГОСТ Р 53123-2008 Качество почвы. Отбор проб. Часть 5. Руководство по изучению городских и промышленных участков на предмет загрязнения почвы
ГОСТ Р
Скачать ГОСТ в PDF или DOC бесплатно
Основная информация
Обозначение:
ГОСТ Р 53123-2008
Статус:
Действует
Тип:
ГОСТ Р
Название русское:
Качество почвы. Отбор проб. Часть 5. Руководство по изучению городских и промышленных участков на предмет загрязнения почвы
Название английское:
Soil quality. Sampling. Part 5. Guidance on the procedure for the investigation of urban and industrial sites with regard to soil contamination
Даты и сроки
Дата издания:
09-16-09
Дата введения в действие:
01-01-10
Дата завершения срока действия:
-
Применение и описание
Область и условия применения:
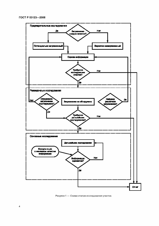
Настоящий стандарт устанавливает рекомендации, касающиеся методики исследования городских и промышленных зон, где подтверждено или предполагается загрязнение почвы. Настоящий стандарт применяется: в случае, если необходимо установить уровень загрязнения участка или его экологическое качество для иных целей; на участках, где загрязнение почвы не ожидается, но необходимо определить качество почвы (например, чтобы удостовериться в отсутствии загрязнения); для оценки загрязнения почвы на любых участках, где необходимо оценить степень и масштаб загрязнения
Связи и замены
Заменяющий:
-
Описание стандарта
ГОСТ Р 53123-2008 Качество почвы. Отбор проб. Часть 5. Руководство по изучению городских и промышленных участков на предмет загрязнения почвы
Страницы стандарта






























