ГОСТ Р 52161.1-2004 Безопасность бытовых и аналогичных электрических приборов. Часть 1. Общие требования
ГОСТ Р
Скачать ГОСТ в PDF или DOC бесплатно
Основная информация
Обозначение:
ГОСТ Р 52161.1-2004
Статус:
Отменен
Тип:
ГОСТ Р
Название русское:
Безопасность бытовых и аналогичных электрических приборов. Часть 1. Общие требования
Название английское:
Safety of household and similar electrical appliances. Part 1. General requirements
Даты и сроки
Дата издания:
11-23-04
Дата введения в действие:
07-01-05
Дата завершения срока действия:
01-01-14
Применение и описание
Область и условия применения:
Настоящий стандарт устанавливает требования безопасности электрических приборов для бытового и аналогичного применения номинальным напряжением не более 250 В для однофазных приборов и 480 В - для других приборов. Приборы, не предназначенные для нормального бытового использования, но которые тем не менее могут быть источником опасности для людей, например приборы, используемые неспециалистами в магазинах, в легкой промышленности и на фермах, входят в область распространения настоящего стандарта. Настоящий стандарт устанавливает основные виды опасностей приборов, с которыми люди сталкиваются внутри и вне дома. Настоящий стандарт не учитывает опасностей, возникающих в случае: - безнадзорного использования приборов детьми или немощными лицами; - игр детей с приборами
Приложение №2:
Изменение №1 к ГОСТ Р 52161.1-2004 Обозначение: Изменение №1 к ГОСТ Р 52161.1-2004 Дата введения в действие: 01.01.2011
Приложение №3:
Поправка к ГОСТ Р 52161.1-2004 Обозначение: Поправка к ГОСТ Р 52161.1-2004 Дата введения в действие: 10.06.2008
Связи и замены
Заменяющий:
-
Изменения и переиздания
Список изменений:
№0 от (рег. ) «Дата введения перенесена» №0 от (рег. ) «Дата введения перенесена» №0 от (рег. ) «Текстовое изменение; Изменено заглавие» №1 от (рег. ) «Текстовое изменение; Изменены ссылочные НД»
Описание стандарта
ГОСТ Р 52161.1-2004 Безопасность бытовых и аналогичных электрических приборов. Часть 1. Общие требования
Страницы стандарта































































































































































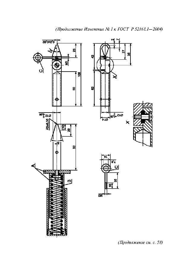
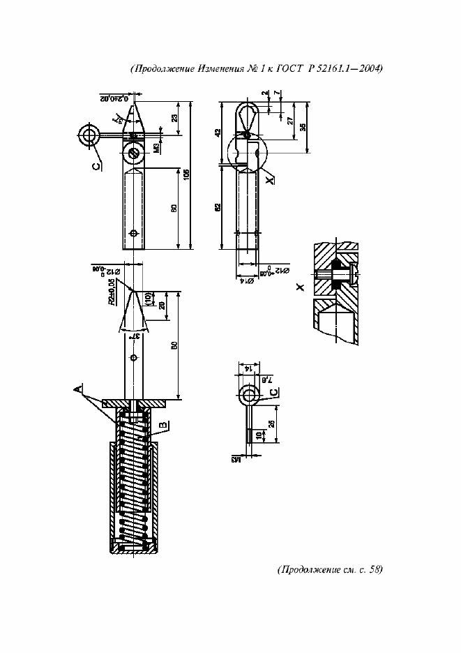
Приложение №2: Изменение №1 к ГОСТ Р 52161.1-2004 Обозначение: Изменение №1 к ГОСТ Р 52161.1-2004 Дата введения в действие: 01.01.2011

Приложение №2: Изменение №1 к ГОСТ Р 52161.1-2004 Обозначение: Изменение №1 к ГОСТ Р 52161.1-2004 Дата введения в действие: 01.01.2011

Приложение №2: Изменение №1 к ГОСТ Р 52161.1-2004 Обозначение: Изменение №1 к ГОСТ Р 52161.1-2004 Дата введения в действие: 01.01.2011

Приложение №2: Изменение №1 к ГОСТ Р 52161.1-2004 Обозначение: Изменение №1 к ГОСТ Р 52161.1-2004 Дата введения в действие: 01.01.2011

Приложение №2: Изменение №1 к ГОСТ Р 52161.1-2004 Обозначение: Изменение №1 к ГОСТ Р 52161.1-2004 Дата введения в действие: 01.01.2011

Приложение №2: Изменение №1 к ГОСТ Р 52161.1-2004 Обозначение: Изменение №1 к ГОСТ Р 52161.1-2004 Дата введения в действие: 01.01.2011

Приложение №2: Изменение №1 к ГОСТ Р 52161.1-2004 Обозначение: Изменение №1 к ГОСТ Р 52161.1-2004 Дата введения в действие: 01.01.2011

Приложение №2: Изменение №1 к ГОСТ Р 52161.1-2004 Обозначение: Изменение №1 к ГОСТ Р 52161.1-2004 Дата введения в действие: 01.01.2011

Приложение №2: Изменение №1 к ГОСТ Р 52161.1-2004 Обозначение: Изменение №1 к ГОСТ Р 52161.1-2004 Дата введения в действие: 01.01.2011

Приложение №2: Изменение №1 к ГОСТ Р 52161.1-2004 Обозначение: Изменение №1 к ГОСТ Р 52161.1-2004 Дата введения в действие: 01.01.2011

Приложение №2: Изменение №1 к ГОСТ Р 52161.1-2004 Обозначение: Изменение №1 к ГОСТ Р 52161.1-2004 Дата введения в действие: 01.01.2011

Приложение №2: Изменение №1 к ГОСТ Р 52161.1-2004 Обозначение: Изменение №1 к ГОСТ Р 52161.1-2004 Дата введения в действие: 01.01.2011

Приложение №2: Изменение №1 к ГОСТ Р 52161.1-2004 Обозначение: Изменение №1 к ГОСТ Р 52161.1-2004 Дата введения в действие: 01.01.2011

Приложение №2: Изменение №1 к ГОСТ Р 52161.1-2004 Обозначение: Изменение №1 к ГОСТ Р 52161.1-2004 Дата введения в действие: 01.01.2011

Приложение №2: Изменение №1 к ГОСТ Р 52161.1-2004 Обозначение: Изменение №1 к ГОСТ Р 52161.1-2004 Дата введения в действие: 01.01.2011

Приложение №2: Изменение №1 к ГОСТ Р 52161.1-2004 Обозначение: Изменение №1 к ГОСТ Р 52161.1-2004 Дата введения в действие: 01.01.2011

Приложение №2: Изменение №1 к ГОСТ Р 52161.1-2004 Обозначение: Изменение №1 к ГОСТ Р 52161.1-2004 Дата введения в действие: 01.01.2011

Приложение №2: Изменение №1 к ГОСТ Р 52161.1-2004 Обозначение: Изменение №1 к ГОСТ Р 52161.1-2004 Дата введения в действие: 01.01.2011

Приложение №2: Изменение №1 к ГОСТ Р 52161.1-2004 Обозначение: Изменение №1 к ГОСТ Р 52161.1-2004 Дата введения в действие: 01.01.2011

Приложение №2: Изменение №1 к ГОСТ Р 52161.1-2004 Обозначение: Изменение №1 к ГОСТ Р 52161.1-2004 Дата введения в действие: 01.01.2011

Приложение №2: Изменение №1 к ГОСТ Р 52161.1-2004 Обозначение: Изменение №1 к ГОСТ Р 52161.1-2004 Дата введения в действие: 01.01.2011

Приложение №2: Изменение №1 к ГОСТ Р 52161.1-2004 Обозначение: Изменение №1 к ГОСТ Р 52161.1-2004 Дата введения в действие: 01.01.2011

Приложение №2: Изменение №1 к ГОСТ Р 52161.1-2004 Обозначение: Изменение №1 к ГОСТ Р 52161.1-2004 Дата введения в действие: 01.01.2011

Приложение №2: Изменение №1 к ГОСТ Р 52161.1-2004 Обозначение: Изменение №1 к ГОСТ Р 52161.1-2004 Дата введения в действие: 01.01.2011

Приложение №2: Изменение №1 к ГОСТ Р 52161.1-2004 Обозначение: Изменение №1 к ГОСТ Р 52161.1-2004 Дата введения в действие: 01.01.2011

Приложение №2: Изменение №1 к ГОСТ Р 52161.1-2004 Обозначение: Изменение №1 к ГОСТ Р 52161.1-2004 Дата введения в действие: 01.01.2011

Приложение №2: Изменение №1 к ГОСТ Р 52161.1-2004 Обозначение: Изменение №1 к ГОСТ Р 52161.1-2004 Дата введения в действие: 01.01.2011

Приложение №2: Изменение №1 к ГОСТ Р 52161.1-2004 Обозначение: Изменение №1 к ГОСТ Р 52161.1-2004 Дата введения в действие: 01.01.2011

Приложение №2: Изменение №1 к ГОСТ Р 52161.1-2004 Обозначение: Изменение №1 к ГОСТ Р 52161.1-2004 Дата введения в действие: 01.01.2011

Приложение №2: Изменение №1 к ГОСТ Р 52161.1-2004 Обозначение: Изменение №1 к ГОСТ Р 52161.1-2004 Дата введения в действие: 01.01.2011

Приложение №2: Изменение №1 к ГОСТ Р 52161.1-2004 Обозначение: Изменение №1 к ГОСТ Р 52161.1-2004 Дата введения в действие: 01.01.2011

Приложение №2: Изменение №1 к ГОСТ Р 52161.1-2004 Обозначение: Изменение №1 к ГОСТ Р 52161.1-2004 Дата введения в действие: 01.01.2011

Приложение №2: Изменение №1 к ГОСТ Р 52161.1-2004 Обозначение: Изменение №1 к ГОСТ Р 52161.1-2004 Дата введения в действие: 01.01.2011

Приложение №2: Изменение №1 к ГОСТ Р 52161.1-2004 Обозначение: Изменение №1 к ГОСТ Р 52161.1-2004 Дата введения в действие: 01.01.2011

Приложение №2: Изменение №1 к ГОСТ Р 52161.1-2004 Обозначение: Изменение №1 к ГОСТ Р 52161.1-2004 Дата введения в действие: 01.01.2011

Приложение №2: Изменение №1 к ГОСТ Р 52161.1-2004 Обозначение: Изменение №1 к ГОСТ Р 52161.1-2004 Дата введения в действие: 01.01.2011

Приложение №2: Изменение №1 к ГОСТ Р 52161.1-2004 Обозначение: Изменение №1 к ГОСТ Р 52161.1-2004 Дата введения в действие: 01.01.2011

Приложение №2: Изменение №1 к ГОСТ Р 52161.1-2004 Обозначение: Изменение №1 к ГОСТ Р 52161.1-2004 Дата введения в действие: 01.01.2011

Приложение №2: Изменение №1 к ГОСТ Р 52161.1-2004 Обозначение: Изменение №1 к ГОСТ Р 52161.1-2004 Дата введения в действие: 01.01.2011

Приложение №2: Изменение №1 к ГОСТ Р 52161.1-2004 Обозначение: Изменение №1 к ГОСТ Р 52161.1-2004 Дата введения в действие: 01.01.2011

Приложение №2: Изменение №1 к ГОСТ Р 52161.1-2004 Обозначение: Изменение №1 к ГОСТ Р 52161.1-2004 Дата введения в действие: 01.01.2011

Приложение №2: Изменение №1 к ГОСТ Р 52161.1-2004 Обозначение: Изменение №1 к ГОСТ Р 52161.1-2004 Дата введения в действие: 01.01.2011

Приложение №2: Изменение №1 к ГОСТ Р 52161.1-2004 Обозначение: Изменение №1 к ГОСТ Р 52161.1-2004 Дата введения в действие: 01.01.2011

Приложение №2: Изменение №1 к ГОСТ Р 52161.1-2004 Обозначение: Изменение №1 к ГОСТ Р 52161.1-2004 Дата введения в действие: 01.01.2011

Приложение №2: Изменение №1 к ГОСТ Р 52161.1-2004 Обозначение: Изменение №1 к ГОСТ Р 52161.1-2004 Дата введения в действие: 01.01.2011

Приложение №2: Изменение №1 к ГОСТ Р 52161.1-2004 Обозначение: Изменение №1 к ГОСТ Р 52161.1-2004 Дата введения в действие: 01.01.2011

Приложение №2: Изменение №1 к ГОСТ Р 52161.1-2004 Обозначение: Изменение №1 к ГОСТ Р 52161.1-2004 Дата введения в действие: 01.01.2011

Приложение №2: Изменение №1 к ГОСТ Р 52161.1-2004 Обозначение: Изменение №1 к ГОСТ Р 52161.1-2004 Дата введения в действие: 01.01.2011

Приложение №2: Изменение №1 к ГОСТ Р 52161.1-2004 Обозначение: Изменение №1 к ГОСТ Р 52161.1-2004 Дата введения в действие: 01.01.2011

Приложение №2: Изменение №1 к ГОСТ Р 52161.1-2004 Обозначение: Изменение №1 к ГОСТ Р 52161.1-2004 Дата введения в действие: 01.01.2011

Приложение №2: Изменение №1 к ГОСТ Р 52161.1-2004 Обозначение: Изменение №1 к ГОСТ Р 52161.1-2004 Дата введения в действие: 01.01.2011

Приложение №2: Изменение №1 к ГОСТ Р 52161.1-2004 Обозначение: Изменение №1 к ГОСТ Р 52161.1-2004 Дата введения в действие: 01.01.2011

Приложение №2: Изменение №1 к ГОСТ Р 52161.1-2004 Обозначение: Изменение №1 к ГОСТ Р 52161.1-2004 Дата введения в действие: 01.01.2011

Приложение №2: Изменение №1 к ГОСТ Р 52161.1-2004 Обозначение: Изменение №1 к ГОСТ Р 52161.1-2004 Дата введения в действие: 01.01.2011

Приложение №3: Поправка к ГОСТ Р 52161.1-2004 Обозначение: Поправка к ГОСТ Р 52161.1-2004 Дата введения в действие: 10.06.2008

Приложение №3: Поправка к ГОСТ Р 52161.1-2004 Обозначение: Поправка к ГОСТ Р 52161.1-2004 Дата введения в действие: 10.06.2008

Приложение №4: Поправка к ГОСТ Р 52161.1-2004 Обозначение: Поправка к ГОСТ Р 52161.1-2004 Дата введения в действие: 09.06.2008

Приложение №4: Поправка к ГОСТ Р 52161.1-2004 Обозначение: Поправка к ГОСТ Р 52161.1-2004 Дата введения в действие: 09.06.2008

Приложение №5: Поправка к ГОСТ Р 52161.1-2004 Обозначение: Поправка к ГОСТ Р 52161.1-2004 Дата введения в действие: 13.12.2005
